三农:濮阳一连发布20则土地征收公告,这些村土地将被征收
大河财立方消息 日前 , 濮阳市自然资源和规划局一连发布20则土地征收启动公告 。 记者梳理发现 , 濮阳此次拟征收土地涉及华龙区濮东街道办事处宗昌湖村民委员会集体土地、胜利街道办事戚城屯村村民委员会集体土地等 。![]()
文章图片![]()
文章图片
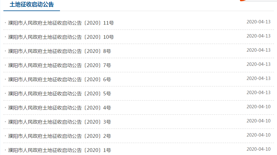
部分公告详情如下:![]()
文章图片
【三农:濮阳一连发布20则土地征收公告 , 这些村土地将被征收】![]()
文章图片
推荐阅读
- 三农出彩河南青年说|在麦浪里播撒青春
- 三农“约会”杏园乐享采摘
- 三农央媒看河南|河南杞县:“集中代养”助力贫困群众发“羊”财
- 『』扩散周知!濮阳1亿元消费券来了,连发30天
- ##濮阳警方成功打掉这个“杀猪盘”电诈团伙,连续抓了19名嫌犯
- [社会万象]河南警察学院学生在濮阳勇救落水老人,他也不会游泳......
- #濮阳建设#濮阳年内将再添一所儿童医院
- 「三农」走近大工匠丨老岳的“桃花梦”
- 网约车■5月1日起,濮阳新增网约车必须是这种车!
- 「倒挂金钩」濮阳四岁男孩跌落40米水井 消防员“倒挂金钩”成功救出
