『美国』截止至4月29日9时,美国再传坏消息,一个现象更糟糕了!

文章图片

美国的疫情已经持续有一段时间了 , 但是还是看不到美国疫情的拐点在哪 , 而且美国的疫情却越来越严重 , 现在美国面临的问题一点都没有得到解决 , 现在医疗物资的稀缺和设备的欠缺崩溃 , 加之很多医护人员都领不到相对应的防控措施装备 , 导致美国的医护人员都被传染 , 这也大大打击了美国医护人员的工作积极性 , 现在的美国可谓是一言难尽!
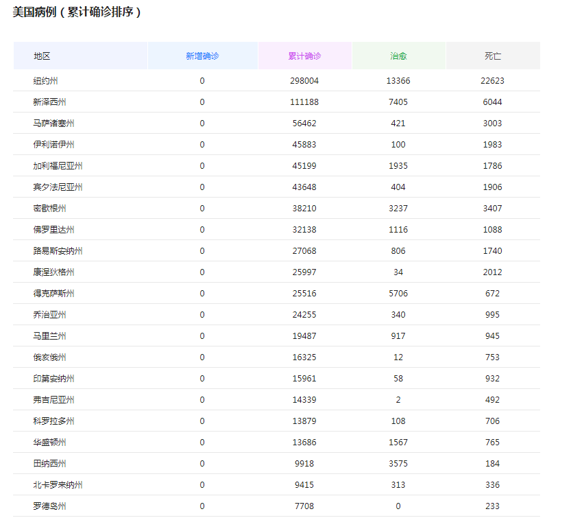
根据美国疫情数据显示 , 截止4月29日上午9时 , 美国累计确诊1034115例 , 现存确诊834502例 , 累计治愈140501例 , 累计死亡59112例 。 从以上数据可以看出 , 美国的累计确诊不单破100万以上 , 而且单日新增都在2万以上 , 而在这个数据中美国再传来一个坏消息 , 一个现象更糟糕了 , 美国的死亡人数比昨日增加了2179例 。
其中美国的50个大州里 , 纽约州的确诊人数都已经达到了29万以上 , 死亡人数2万 , 而一个州的累计确诊都即将达到30万 , 等于是一个西班牙国家的累计确诊 , 不过西班牙总确诊都没有纽约州多 , 可见美国现在的疫情真的是无法想象!
【『美国』截止至4月29日9时,美国再传坏消息,一个现象更糟糕了!】现如今美国的抗疫工作已经有两个多月的时间了 , 而现在的疫情一点都没有得到缓解反而是不断在上涨 , 中国在疫情爆发一个多月的时候就已经在尽力想办法控制 , 而美国对待疫情却是不以为然 , 松懈、不理睬、不负责导致到现在还没有一个有效的防控措施 , 让死亡病例飙升到了59112例 , 这也说明了有5万多人在此次疫情面前送命 , 眼看就要达到6万了 , 希望美国政府能够放下一些所谓的自由尽快想尽办法去抗疫吧!
推荐阅读
- #美国#疫情结束之后,世界将走向“无极”?对华幕后黑手已浮出水面
- 军情堡要求限制总统一项特权,最终被特朗普一票否决,美国国会通过决议
- 兰州新闻网美国疫情数据为何矛盾混乱
- 知否家居金星怎么就选了20年不回纽约?,美国给出了巨大诱惑
- 新闻联播美国副总统开始隔离?白宫对此“极为敏感”;又有一国确诊超20万
- 中金网但美国欲举债三万亿或加剧债务压力 日内关注美国非制造业PMI,美元美股同涨
- 美国▲养虎为患!专家:它才是美军最大的敌人,骗了美国整整70年
- 冷门体育知识今落叶归根回国执教,中国体操天才入美国籍后培养数位世界冠军
- 「以色列」5000台呼吸机白买了,以色列疫情奇迹般消失,美国却发现了一个规律
- 科技迷7nm版年底流片,要放弃美国代工?国产x86转向三星台积电代工
