#营收#获8000万美元新融资,估值超10亿美元,Keep是如何练成的?
【#营收#获8000万美元新融资,估值超10亿美元,Keep是如何练成的?】
文章图片

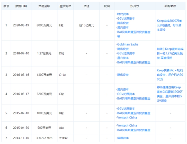
5月19日 , 据36氪报道 , 运动科技公司Keep于2020年年初已完成8000万美元E轮融资 , 由时代资本领投 , GGV纪源资本、腾讯、晨兴资本和贝塔斯曼亚洲投资基金等老股东跟投 。
至此 ,Keep 估值超10亿美元 , 成为国内运动科技领域首家独角兽公司 。Keep成立于2014年10月 , 由出生于1990年的王宁带领团队创立 。 在此轮融资前 , Keep已经完成了6轮融资 , 累计1.87亿美元 。 其中 , 前5轮融资完成时间不到两年 , 最后一轮为高盛领投的1.27亿美元D轮融资 。 目前 , Keep的股东有腾讯、高盛、晨兴资本、泽厚资本等 。
Keep已获得7轮融资
时针拨回2013年 , 当时23岁的王宁还是即将毕业的大四学生 , 身高1.76米的他体重180斤 , 为了将来找工作和找女朋友考虑 , 他开始减肥 。 没有去健身房的预算 , 他就在知乎、贴吧、视频网站等各种地方搜集健身资料和视频 , 自己锻炼 , 10个月瘦了50斤 。
有关Keep的想法 , 也在当时埋下的种子 。 朋友建议王宁把健身视频聚合在一个APP里 , 这成了创业的起点 。
Keep创始人王宁
2015年2月 , Keep作为一个提供线上运动内容和记录的健身工具上线了 。
借助强大内容运营与渠道拓展能力 , Keep用了一年半时间 , 将用户做到1亿以上 , 并获得了5轮融资 , 俨然成为运动健身领域的明星企业 。
拿到D轮融资后 , Keep开始大手笔扩张 , 探索更多商业化可能 。 他们必须用收入的增长向资本和市场证明自己 。
2018年 , Keep的第一家线下健身房Keepland落子北京华贸中心 。 2019年 , 又启动了智能业务 , 产品包括跑步机、动感单车、运动手环和健走机等 , 主打家庭场景 。 此外 , Keep还尝试了KeepLite轻食 。
在内容建设上 , Keep也逐步开展与更多运动达人的 PUGC 内容合作 。 据悉 ,平台上已聚集 2200 多位运动达人 , 生产超过 1000 套 PUGC 课程 。 此外 , Keep也向小米、创维、 TCL、三星等多家品牌终端伸出橄榄枝 , 合作开辟家庭运动新场景 。
Keep的业务版图由此不断扩张 , 从软件到硬件 , 由线上到线下 , 逐渐由健身工具APP发展成为覆盖全方位运用场景的运动体验品牌 。
其各项数据也收获了不错的成绩 。 据Keep透露 , 2019年线上业务全年营收同比增长286% , 线下消费品业务也以300%的营收增幅稳步成长 。 其中 , 运动品类是第一大现金流 , 2019年营收预计达到10亿元 , 超过总营收的一半 , 其次分别为会员(线上付费)、广告和 Keepland 。 运动品类中 , 智能硬件、运动装备和食品的占比分别为35% , 40%和25% 。
不过 , 过快的扩张和频繁的探索 , 也让Keep面临了一些问题和质疑 。
2019年至今 , Keepland已经关闭掉了上海的全部3家线下Keepland门店以及北京的一家 , 线下店收缩至北京一城的10家 , 被看作Keep线下遇挫的标志 。
更早的2019年10月 , Keep进行了一次人员优化和业务回调 , 裁员涉及Keep员工总数的10%-15% 。
这对于正处于快速上升期的公司是必要的调整 , 而如今 , 最新一轮的资本加持 , 无疑对Keep调整期产生的质疑给出了最好的回应 。
Keep线下店Keepland
据Keep本轮融资领投方时代资本表示 , 非常看好Keep在中国的发展前景:“此次重仓运动科技领头羊Keep 既是看好中国的运动市场 , 也是消费升级领域的重要投资 。 ”
推荐阅读
- 阿拉图图科技说|而给华为仅仅是800万枚!,台积电为苹果准备8000万枚芯片
- 『营收』中国公有云厂商2019年收入排名TOP10分析
- 爱集微APP|12,如期发布?外媒:苹果今年或将生产8000万部5G版iPhone
- 腾讯@又一国产巨头崛起,阿里腾讯华为加一起都不及它,年营收破万亿!
- 「芯片」8000亿!中国芯片“反击”来了,打破国外垄断,即将开始量产?
- 年度最佳矿工|曾用比特币捐款,比特大陆再接千万美元大单丨中国比特币首富
- 金立■一代手机巨头“坍塌”!曾年产8000万台,用户超1.1亿,说凉就凉
- 数据猿|花114万美元赎金向黑客“回购数据”,加州大学遭黑客勒索
- 「努比亚」华为在东莞松山湖投资100亿盖了1.1万套房,以每平米8000元的价格卖给员工
- 浅浅说科技|前者年研发费212亿,后者年营收219亿,台积电、中芯国际对比鲜明
