中国汽车报网 赵建国|赴美上市前夜生变!理想汽车股东集体出质股权
原计划于7月赴美上市的理想汽车,一夜之间忽生变故 。
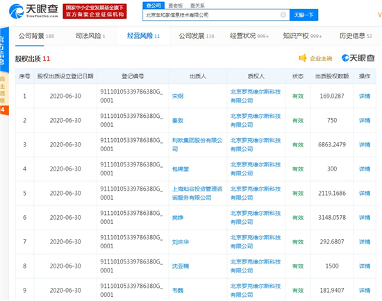
7月6日,采访人员在天眼查上发现,理想汽车的运营主体北京车和家信息技术有限公司新增11条股权出质信息,11位股东全部出质股权,质权人为北京罗克维尔斯科技有限公司 。
本文图片
此刻,正当造车新势力同行遇挫“爆雷”之际,而理想汽车刚刚获得了美团领投的D轮融资5.5亿美元(约合人民币38.6亿元),随即,在赴美上市前夜,却出现股东集体出质股权这样不同寻常的行为,令人疑惑,但理想汽车官方对此明确表示:“不予置评” 。
出质股权为那般?
“字少事大”,看似沉默,实不平凡 。 天眼查显示,罗克维尔斯成立于2017年12月,注册资本10亿元,法定代表人为理想汽车大股东李想,该公司由Leading Ideal HK Limited全资控股 。
不难看出,质权人是罗克维尔斯,意味着实际质权人就是李想 。 “在上市之前进行这样的股权结构调整,使股东相对集中,或是为了保证股东的利益 。 ”全国乘用车市场信息联席会秘书长崔东树在接受《中国汽车报》采访人员采访时认为 。
而理想汽车内部的股权结构调整,股东的减少,此前就已经开始 。 数据显示,今年5月13日,车和家发生多项工商变更 。 其中,注册资本由7.25亿元减少至约4.33亿元,减少2.92亿元,降幅约为40.2%;18位股东退出,剩余11位股东 。 车和家成立于2015年4月,第一大股东为李想,持股比例为61.5%;第二大股东为利欧股份,持股比例为15.82% 。
“这样的调整,除了正常情况,推测还有可能或者是股东对公司上市的看法不一致,或者是上市遇到了困难 。 ”全联车商投资管理(北京)有限公司总裁曹鹤向《中国汽车报》采访人员表示,他的推测,更倾向于后一种情况 。
理想的股市在何方?
赴美上市遇到困难,尤其是在瑞幸咖啡财务造假事件之后,已经算不上是什么特别的理由 。 即使理想汽车因此受到影响,也并不奇怪 。
其实,理想汽车赴美上市,从去年8月就已见端倪 。 2019年8月,江苏省国资委官网挂出《北京车和家信息技术有限公司0.91%的股权转让公告》透露,常州武南新能源汽车投资有限公司拟将持有的车和家0.91%股权进行转让,对应出资额约为829.55万元 。 同时,理想汽车股东之一、上市公司利欧股份也发布公告披露理想汽车拟搭建VIE(可变利益实体)架构 。 这一架构,是很多国内企业赴美上市的路径 。
2019年12月,车和家股东发生变化,有17家股东退出,注册资本也从约9.15亿元下降了25% 。 这显然是以更大步伐调整股权结构,搭建VIE架构,通过第三方公司间接持有理想汽车,从而方便赴美上市 。 曾经,蔚来、百度、阿里等公司均以此成功登陆纽交所 。
眼下,理想汽车上市遭遇“三难”,一是赴美上市难以成行,二是在国内与科创板的要求差距明显,三是最大可能只剩下港股上市之路 。 但是,按照香港联交所规定,相关企业在港上市的条件之一,是上一财年盈利2000万港元(约合人民币1810万元) 。 而理想汽车首款量产车型理想ONE于2019年12月才开始交付,难以达标 。
从上市要求的指标看,不出意外情况下,理想汽车如果“变道”选择港股上市,较为理想的时间或在明年 。 此前,投资理想汽车的美团创始人王兴曾表示,今年赴美上市时机并不好,理想汽车可能会考虑明年在港股上市 。
为何上市变数多?
曾经,赴美上市为中国创新型企业平添了“光环”,但是,随着近年来国际贸易摩擦等不确定因素增加,变数也在增多 。
由公开信息可见,2019年11月14日,美中经济安全审查委员会向美国国会提交了《2019年度对华战略竞争建议报告》,其中建议禁止搭建VIE架构的中资企业赴美上市 。 而瑞幸咖啡造假事件则是直接的导火索,美国参议院随即紧急通过《外国公司承担责任法案》,意欲对所有在美上市的中国公司进行严格的财务审计,这不仅让在美上市的中概股备感“亚历山大”,也使很多像理想汽车这样即将赴美上市的中国公司望而却步 。
“上市是为了更好地募集资金,缺乏实力肯定得不到股民的信任 。 ”在曹鹤看来,瑞幸咖啡造假教训深刻,企业还是要靠实力、诚信去赢得资本市场 。
而从销量上看,今年5月,理想ONE销售2148辆,除了特斯拉,在国内造车新势力中仅次于蔚来和小鹏 。 而其实,小鹏也曾计划赴美上市,但从瑞幸咖啡事件后已没有了新的动作 。
“港股和内地A股或将成为热门,而且通常A股的估值高于港股,但都有较高的门槛及日益趋严的监管 。 ”崔东树告诉采访人员,因此,不管选择在哪里上市,企业都要以实力作为基础 。
的确,从现实中也可以看到,有实力的企业上市后如鱼得水,如已经在港股上市的吉利汽车,公开表示正筹备在A股上市,形成“A+H”股的格局 。 而已宣布主动从美国退市的京东,已于6月18日在港交所上市 。
【中国汽车报网 赵建国|赴美上市前夜生变!理想汽车股东集体出质股权】 “由此可见,在赴美上市阻力重重的情况下,港股和A股都将成为像理想汽车这样的国内企业上市的新选择 。 而不断增强实力、优化调整股权结构,都是在为上市募资做准备 。 ”崔东树认为 。(中国汽车报网 赵建国)
推荐阅读
- 酒业|换届!保护知识产权 “护航”中国酒业再出发
- 【新浪科技综合】7月底挂牌上市 理想汽车:不予置评新浪科技综合2020-07-20 19:27:350阅
- “后浪”国潮来袭!解码“中国青年”T恤系列
- 创新|创新“富”能|梦网富信亮相第8届中国智慧餐饮创新峰会
- 读懂中国制度,《求是》推荐这本书!
- 国际时评 | 中国“双桨齐动” 经济破浪前行
- 美国彼得森国际经济研究所高级研究员:中国经济回暖将对全球经济复苏发挥积极作用
- 汪文斌援引《柳叶刀》:反对用阴谋论指责中国
- 高考|如何填报高考志愿?高三教师和高校招办教师支招
- 中小|惠普联合北京大学发布《中国创业型中小微企业创新指数》
