商标|腾讯申请多个“拍一拍”相关商标,状态为“等待实质审查”
_原题为 腾讯申请多个“拍一拍”相关商标 , 状态为“等待实质审查”
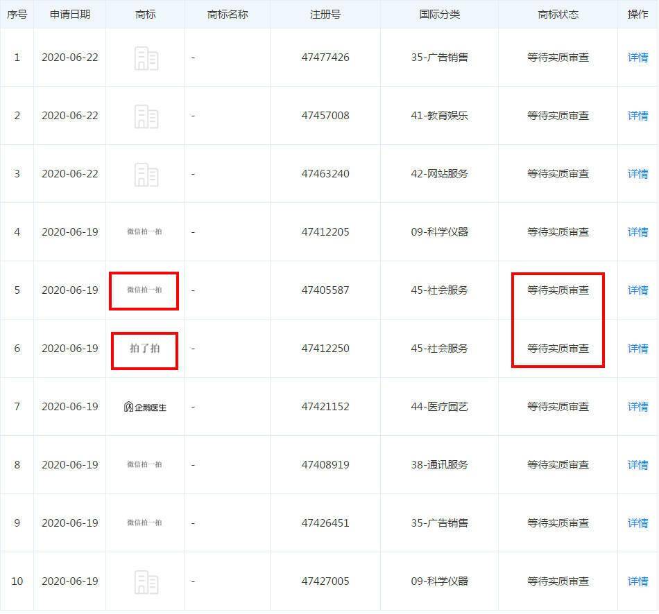
中新经纬客户端7月14日电 天眼查数据显示 , 近日 , 腾讯科技(深圳)有限公司新增多条商标信息 , 包括“微信拍一拍”“拍了拍”等 。 目前商标状态均显示为“等待实质审查” 。
【商标|腾讯申请多个“拍一拍”相关商标,状态为“等待实质审查”】
文章图片
来源:天眼查
6月中旬 , 微信上线“拍一拍”功能 。 当你想要拍一个人的时候 , 只需在群聊或个人对话框中直接轻轻点击两下对方的头像 , 对话框中就会出现“你拍了拍 XXX”的字样 , 你的手机也会同步震动一下 。 当然 , 你也可以“拍一拍”自己 。 一时间 , “拍一拍”在微信好友流行开来 。
天眼查数据显示 , 腾讯科技(深圳)有限公司成立于2000年2月 , 注册资本200万美元 , 法定代表人为马化腾 。 (中新经纬APP)
推荐阅读
- 商标|使用与“望京小腰”近似商标,北京一餐饮公司被判侵权赔偿
- 新浪科技■神州租车:已向港交所申请7月21日上午九时起复牌新浪科技2020-07-20 19:25:400阅
- 腾讯战略投资短视频电商平台「成物」;京东战略投资城市生活体验平台「首旅慧科」丨 IT桔子周报
- 语音|腾讯系AI语音助手:从家居场景到全面上车,还要打通小程序
- 异同|美高申请和美本申请的异同点分析
- 美研|无G也可申美研
- Voodoo|“勤劳”的Voodoo 是否值得腾讯拥有?
- Tesla|特斯拉签手腾讯《和平精英》:神秘空投箱空降上海工厂
- 滨河|滨河绿地变“公厕”?公园回应:正申请增加厕所
- 消息资讯|微信表情包又又又被申请注册商标,腾讯又提出异议了!
