集成电路|15亿美元,又一家半导体企业获国家大基金二期投资
_本文原题为 15亿美元 , 又一家半导体企业获国家大基金二期投资
据国家企业信用信息公示系统显示 , 近日 , 中芯南方集成电路制造有限公司(下称“中芯南方”)工商信息发生变更 , 注册资本由此前的35亿美元增至65亿美元 , 增幅达85.71% 。
同时 , 中芯南方原股东中芯国际集成电路制造(上海)有限公司退出 , 新增投资人为上海集成电路产业投资基金(二期)有限公司(以下简称“上海集成电路产业基金二期”)和国家集成电路产业投资基金二期股份有限公司(以下简称“国家大基金二期”) 。
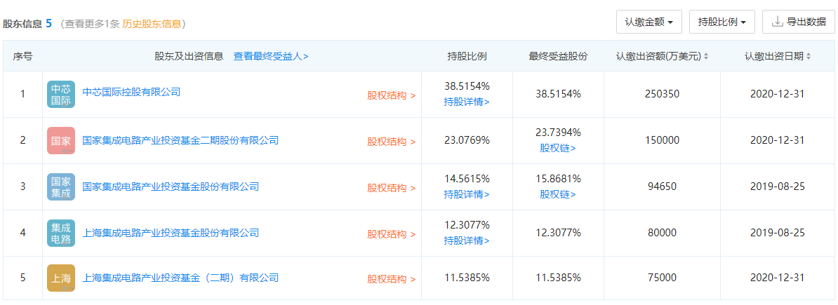
企查查显示 , 工商变更后 , 中芯南方的第一大股东为中芯国际控股有限公司 , 持股比例38.5154% , 国家大基金二期为第二大股东 , 认缴出资15亿美元 , 持股比例为23.0769% , 而上海集成电路产业基金二期则持股11.5385% 。
【集成电路|15亿美元,又一家半导体企业获国家大基金二期投资】
文章图片
Source:企查查
据了解 , 国家大基金二期成立于2019年10月22日 , 注册资本超2000亿元 , 此前 , 国家大基金管理人华芯投资表示国家大基金二期将在3月底开始实质投资 。 根据天眼查信息显示 , 截至目前 , 除中芯南方之外 , 大基金二期还投资了紫光展锐 。

文章图片
Source:天眼查
2020年5月 , 中芯国际在港交所公告 , 中芯控股与国家集成电路基金等多方订立新合资合同及新增资扩股协议 , 国家集成电路基金二期等多方同意分别注资15亿美元及7.5亿美元予中芯南方注册资本 。
事实上 , 此次并非中芯南方首次增资 , 早在2018年1月30日 , 中芯南方就曾进行过一轮大规模增资扩股 。 当时 , 国家集成电路基金一期以及上海集成电路基金一期分别出资9.465亿美元和8亿美元 , 中芯国际全资公司中芯控股出资15.435亿美元 , 将中芯南方的注册资本由2.1亿美元增至35亿美元 。
资料显示 , 中芯南方集成电路制造有限公司成立于2016年12月 , 法定代表人为周子学 , 公司经营范围包括集成电路芯片制造、针测及测试、与集成电路有关的开发、设计服务、技术服务、光掩膜制造、测试封装等 。
中芯国际之前在公告中介绍 , 中芯南方为一家12英寸晶圆厂 , 主要满足中芯国际14nm及以下先进工艺节点的研发和量产计划 , 投资总额高达120.4亿美元 , 目前已实现每月6000片14nm晶圆产能 。
据悉 , 中芯南方是中芯国际科创板募投项目之一12英寸芯片SN1项目的载体 , 根据中芯国际此前的招股书披露 , 该项目工艺技术水平为14纳米及以下 , 是中国大陆第一条FinFET工艺生产线 , 也是中芯国际14纳米及以下先进工艺研发和量产的主要承载平台 。 该项目规划月产能3.5万片 , 目前已建设月产能6000片 , 募集资金主要用于满足将该生产线的月产能扩充到3.5万片的部分资金需求 。
中芯国际表示 , 本项目的实施将大幅提升中国大陆集成电路晶圆代工的工艺技术水平 , 提升公司对全球客户高端芯片制造的服务能力 , 并进一步带动中国大陆集成电路产业的发展 。
来源:全球半导体观察
封面图片来源:拍信网
推荐阅读
- 如果说龙牙|想要直接派兵来拿,美国的帐都敢赖3000亿美元一分没还
- FOX游戏|Q2全球移动游戏总支出达193亿美元 同比增长27%,2020
- 路透社|被传估值100亿美元将登陆科创板,商汤科技:不予置评
- 向往的生活|《向往的生活》加更,一家四口畅想新生活,黄老师曝下季录制地?
- IT新经济|泰国送餐平台LINE MAN获1.1亿美元融资,并将跟当地合作商合并
- 累计亏损|青客3年累计亏损12.42亿元再砸1.3亿美元购公寓资产能否破局?
- 信贷|汇丰控股(00005)中期股东应占利润下滑76.76%至19.77亿美元
- 微软|估值930亿美元的阿里云,是两个偏执狂打造的“王炸”
- 钛晨报,TikTok将在美国长期运营,将暂停其在中国最后一家电脑工厂的运营,和高性能版,苹果早前发布了最后通牒,苹果半日下架逾2
- 「房车旅行」不到两年去了96个城市,一家三口开房车旅行吸粉无数
