居然|篮球小伙突然坠楼,居然是Ta惹的祸,很多球友都爱做这事
昨天篮球圈最火的一件事儿,小伙儿在楼道后仰跳投摔下楼。
看到视频的第一时间,技巧君的想法是:卧槽。第二想法是:这是真事儿还是摆拍?
第三想法是:好好的一个小伙儿,难道就因为这么一件偶然的事儿,就去要出事了?
【 居然|篮球小伙突然坠楼,居然是Ta惹的祸,很多球友都爱做这事】这是生活,不是在拍死神来了啊!
文章图片
从前看过这么一句话,走着走着突然做一个投篮动作,可能是许多男生都干过且爱干的事儿,特别是在学生时代。
文章图片
而视频中的小伙用了一记转身后仰,空中竟然直接坐上了楼道的围栏,随后坠楼,身边几位同学被吓傻了,甚至都没能做出反应,
唯二两个做出反应的哥们儿,终究还是晚了一步。只差半秒,他们或许就能救下好友。
文章图片
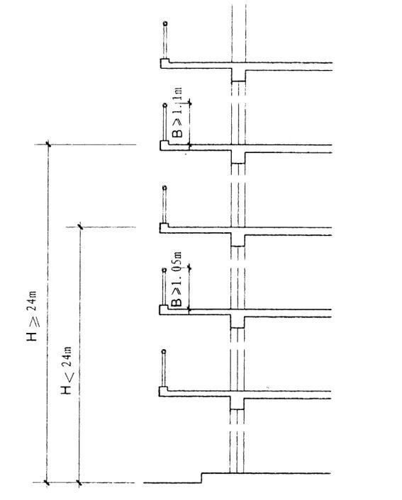
按照一般学校的护栏高度,规范标准不低于1.1米,
高些的楼层会多添置一道用于防护的铁护栏,并且拥有这种开放式大阳台的楼层,大多是低楼层。
文章图片
这么一合计,楼层高度应该不会太高,估摸着二楼到三楼的样子。倘若不是头部着地,还是有很大的生还几率的。
目前,还不知道小伙儿状况如何,一旦有了消息,技巧君也会第一时间在朋友圈,以及文章评论区告诉大家伙儿。
文章图片
说句心里话,如果是看到这条新闻之前,有人告诉我,在路上做投篮动作会有生命危险,技巧君也不会放在心上,
毕竟谁还没做过类似的动作?!
文章图片
看到比较高的树叶或是天花板,总会习惯性的跳起来摸一下;手上有空瓶子或是纸巾,总是喜欢把垃圾篓当做篮筐;
哪怕手上什么都没有,做一个后仰跳投动作也是舒服的。
文章图片
图中的小伙儿,是个运气不好的篮球爱好者。或许就是那么一瞬间,他突然想到了科比,也可能是库里,然后就做出了这个动作。
起跳时,他完全没有注意到自己就在护栏旁边;他同样没有想到,一个转身后仰动作能让他在空中彻底失去重心;
可能他最没有想到的是,自己的投篮起跳高度,竟然能直接越过1米1的护栏。
文章图片
无数个没有想到组合在一起,酿造了这个悲剧。
如果他离护栏的距离远一点,如果他的起跳高度低一点,如果他能在空中控制住自己的重心,如果他能在护栏上再撑半秒,
说不定一切都和现在不同...可惜没如果,事情就这么发生了。
文章图片
事情已经发生,无法挽回只好引以为戒,请大家伙儿务必注意,在阳台旁、栅栏边,切勿做出高难度后仰,或是跳投动作。
意外发生我们可能无法阻止,但我们可以通过平时的仔细小心,尽量让这些意外事故降低到最低。
文章图片
从打球猝死,到戴口罩跑步去世,再到后仰跳投(小伙还未出消息,仍有康复可能),类似的悲剧技巧君已经写了太多太多。
愿生活善待大家,愿这是技巧君最后一篇,关于“意外事故”的推送。
推荐阅读
- 声音|代表山东征战《中国好声音》“低音炮”小伙回青献艺
- 常视界|17岁小伙被拘看守所死亡,身上多处伤痕,在医院时禁止家人探望!
- 小伙独自徒步失联5天后,父亲一条朋友圈令人痛心!4000米悬崖搜救画面曝光
- 输给|常胜将军一休,居然也会输给他人,心态会崩吗!
- 热点|小伙婚礼前突然感冒,竟是感染了“接吻病毒”!医生:可能反复发作
- 话晴空|徐州小伙的脸被电锯锯成两半,多名医生花3小时,为其“拼脸”
- 福布斯|福布斯中国名人榜公布了,居然没有钟南山
- 赵飞燕|这个皇帝为了讨妃子高兴,居然一个接一个亲手杀了自己的儿子!
- 李荣浩 |28岁电信小伙讲追星故事,全程看李健,没想到剧情反转变李荣浩
- 上海五百多斤胖小伙成功接受“减重手术”已瘦一百斤
