芯片|分别获华为和小米投资,这两家半导体企业科创板之路进展如何?
_原题为 分别获华为和小米投资 , 这两家半导体企业科创板之路进展如何?
7月22日 , 芯朋微和力合微在科创板正式挂牌上市 , 而思瑞浦和芯原股份的科创板IPO之路也迎来了最新进展 。
思瑞浦首发过会
7月22日 , 思瑞浦微电子科技(苏州)股份有限公司(以下简称“思瑞浦”)科创板上市申请获得上海证券交易所科创板上市委会议审议通过 。
资料显示 , 思瑞浦是一家专注于模拟集成电路产品研发和销售的集成电路设计企业 , 产品以信号链模拟芯片为主 , 并逐渐向电源管理模拟芯片拓展 , 应用范围涵盖信息通讯、工业控制、监控安全、医疗健康、仪器仪表和家用电器等众多领域 。
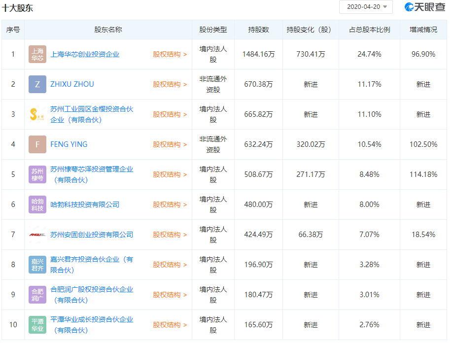
值得一提的是 , 2017年-2019年 , 思瑞浦进行了三次增资和三次股份转让 , 在股权方面 , 思瑞浦的股权结构较为分散 , 无控股股东和实际控制人 。 目前 , 思瑞浦共有股东15名 , 其中持有5%以上(含)股份或表决权的股东包括华芯创投、ZHIXU ZHOU、金樱投资、FENG YING、棣萼芯泽、哈勃科技、安固创投 。
其中 , 华为旗下100%控股子公司哈勃科技在思瑞浦第二次增资中以7200万元认购思瑞浦增发的224.11万股股份 。 目前 , 哈勃科技持有思瑞浦8%股权 , 为思瑞浦的第六大股东 。
文章图片
Source:天眼查
2019年12月27日 , 思瑞浦在江苏证监局进行了上市辅导备案 , 2020年1月20日 , 江苏证监局官网消息显示思瑞浦已接受海通证券辅导 , 将赴科创板上市 , 4月20日 , 思瑞浦的科创板上市申请获受理 。
据招股书介绍 , 思瑞浦的模拟芯片产品已进入众多知名客户的供应链体系 , 包括中兴、海康威视、哈曼、科大讯飞等各行业企业 , 是少数实现通信系统模拟芯片技术突破的本土企业之一 , 并已成为全球5G通信设备模拟集成电路产品的供应商之一 。 2019年 , 思瑞浦已实现年生产超过6亿颗芯片的供应链能力 。
据披露 , 思瑞浦本次拟募集资金总额8.50亿元 , 所募集资金总额扣除发行费用后 , 拟全部用于公司主营业务相关的项目以及主营业务发展所需资金 , 具体包括模拟集成电路产品开发与产业化项目、研发中心建设项目、补充流动资金项目 。
证监会同意芯原股份科创板IPO注册
【芯片|分别获华为和小米投资,这两家半导体企业科创板之路进展如何?】据证监会发布消息指出 , 近日 , 证监会按法定程序同意芯原微电子(上海)股份有限公司(以下简称“芯原股份”)科创板首次公开发行股票注册 , 芯原微电子及其承销商将分别与上海证券交易所协商确定发行日程 , 并陆续刊登招股文件 。
资料显示 , 芯原股份成立于2001年8月 , 是一家依托自主半导体IP , 为客户提供平台化、全方位、一站式芯片定制服务和半导体IP授权服务的企业 。 主要经营模式为芯片设计平台即服务模式(即“SiPaaS模式”) , 主要客户包括英特尔、博世、恩智浦、Facebook、大华股份等众多国内外知名企业 。
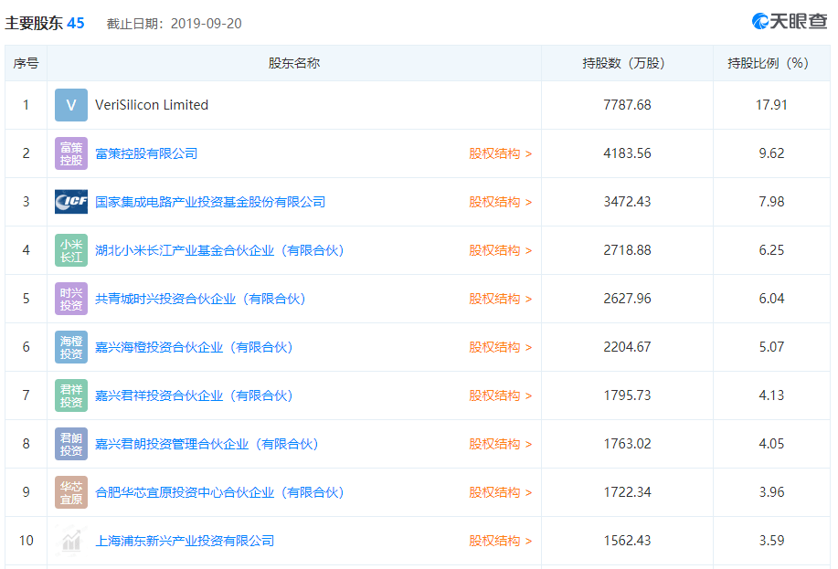
值得一提的是 , 在2001年至2019年期间 , 芯原股份发生过多起增资和股权转让事宜 。 据披露 , 目前 , 持有芯原股份5%以上股份或表决权的股东包括VeriSilicon Limited及其一致行动人戴伟民、兴橙投资方、香港富策、国家集成电路基金、小米基金等 。
其中 , 国家集成电路基金持股比例为7.98% , 是芯原股份第四大股东 , 小米基金持股比例为6.25% , 为其第五大股东 。
文章图片
Source:天眼查
据披露 , 芯原股份在传统CMOS、先进FinFET FD-SOI等全球主流先进制程上都具有优秀的设计能力 。 在先进工艺节点方面 , 芯原股份已拥有14nm/10nm/7nm FinFET和28nm/22nm FD-SOI制程芯片的成功设计流片经验 , 并已开始进行新一代FinFET和FD-SOI制程芯片的设计预研 。 报告期内 , 芯原股份每年平均流片超过40款客户芯片 , 年均芯片出货量折合8英寸晶圆的数量约为91,586片 。
根据招股说明书(注册稿)显示 , 芯原股份本次拟募集资金不超过7.9亿元 , 在扣除发行费用后根据轻重缓急全部用于智慧可穿戴设备的IP应用方案和系统级芯片定制平台的开发及产业化项目、智慧汽车的IP应用方案和系统级芯片定制平台的开发及产业化项目、智慧家居和智慧城市的IP应用方案和芯片定制平台、智慧云平台系统级芯片定制平台的开发及产业化项目、以及研发中心升级项目 。
封面图片来源:拍信网
推荐阅读
- 财报|华为最新财报出炉!上半年日赚近2.4亿
- 马斯克|马斯克推脑机接口芯片:安装不到1小时,植入活猪现场遛
- Xiaomi|华为入冬,小米回春
- Huawei|华为鸿蒙OS手机何时推出?余承东回应:今年先不发布 明年有可能
- Huawei|余承东:华为正在想办法应对禁令
- 马克龙:不排除任何公司参与法国5G建设,包括华为|马克龙:不排除任何公司参与法国5G建设,包括华为
- 华为|任正非:美国一些政治家希望华为死 求生欲使华为振奋
- 华为|踏浪同行!253家财富世界500强企业携手华为共创行业数字化
- Europe|马克龙称不排除包括华为在内的任何公司参与法国5G建设
- Huawei|华为推出“二郎神”智能摄像机:加入手机技术 长焦广角全覆盖
