肆客足球App|最新疫情:新增15例本土,新疆13例辽宁2例

文章图片
7月24日消息 , 昨天(7月23日0—24时)31个省(自治区、直辖市)和新疆生产建设兵团报告新增确诊病例21例 , 其中境外输入病例6例(广东5例 , 上海1例) , 本土病例15例(新疆13例 , 辽宁2例) 。
7月23日0时至24时 , 新疆维吾尔自治区(含新疆生产建设兵团)报告新增新冠肺炎确诊病例13例(其中11例为无症状感染者转确诊病例) , 新增无症状感染者19例 , 均在乌鲁木齐市 。
7月23日0时至24时 , 辽宁省新增2例本土新冠肺炎确诊病例 , 均为大连市报告病例 , 均属普通型病例 。 新增无症状感染者15例 , 均为大连市报告病例 。
7月23日0时至24时 , 北京市无新增报告本地确诊病例、疑似病例和无症状感染者 , 治愈出院病例14例 。 北京已连续18天零新增 。
香港新增113例新冠肺炎确诊病例 , 包括105例本地确诊病例和8例输入性病例 , 为疫情以来单日新高 。
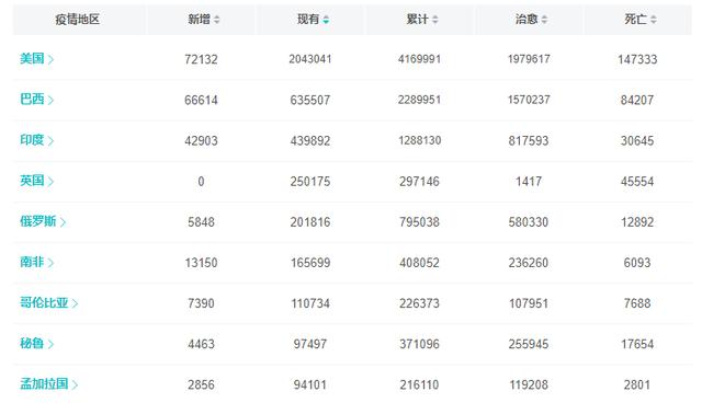
【肆客足球App|最新疫情:新增15例本土,新疆13例辽宁2例】全球累计确诊病例超过1556万例 , 美国单日新增又超过7万例 , 巴西单日新增超过6万例 , 印度新增超4万 。
推荐阅读
- App|盗播产业链调查:一款App看遍各大平台,超前点播也可绕过
- 硬件|正面刚Apple Watch和Fitbit 亚马逊推出智能手环Halo
- 圆满|自贡市2020“天府信用通杯”足球赛圆满收官
- 南都|从3岁上数学思维课,学的是什么?南都测评6款App
- 选手|跨专业融合跨到翻车的程度?说唱新世代有个rapper是道士
- Apple|媒体出版行业需要积极适应iOS 14的隐私指导
- 足球|葡萄牙卢利坦奴足球俱乐部33人确诊新冠肺炎
- Apple|研究称在约会App资料中显示拥有iPhone被 "匹配 "的几率增加76%
- Apple|FB批评苹果的应用商店政策被迫在iOS上推出移除游戏功能的Gaming应用
- 葡萄牙卢利坦奴足球俱乐部33人确诊新冠肺炎
