芯片|小米长江产业基金再投芯片企业 这家科创板公司也参投
_原题为 小米长江产业基金再投芯片企业 这家科创板公司也参投
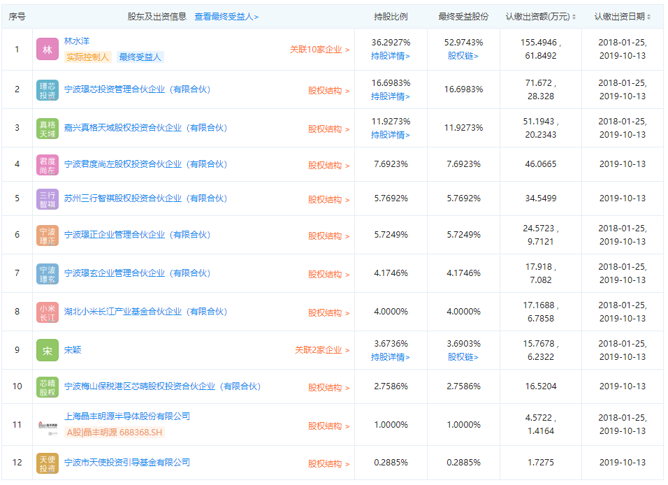
近日 ,湖北小米长江产业基金合伙企业(有限合伙)(以下简称“小米长江产业基金”)再投资了一家半导体芯片公司——宁波隔空智能科技有限公司(以下简称“隔空智能”) 。
企查查信息显示 , 隔空智能已经于近日完成了工商信息变更 , 其中小米长江产业基金作为新晋股东持股4% , 而此次与小米产业基金共同投资的还有一家科创板上市公司——上海晶丰明源半导体股份有限公司(以下简称“晶丰明源”) 。
【芯片|小米长江产业基金再投芯片企业 这家科创板公司也参投】
文章图片
Source:企查查
资料显示 , 隔空智能是一家集成电路设计公司 , 专注于高性能无线射频、微波、毫米波技术、隔空触控技术及相关传感器芯片产品的研发 , 具备射频/模拟IC、低功耗SoC、算法等关键技术研发能力,以及多达数亿颗射频SoC芯片的量产经验 , 产品可广泛应用于物联网、5G通信、智能家居、智慧城市等领域 。
据官网介绍 , 隔空智能曾先后获得真格基金、IC咖啡基金、宁波天使投资引导基金、君度资本和三行资本等知名机构的投资 。 并且已经与多家半导体行业知名公司达成了合作 , 如中芯国际、甬矽电子(宁波)股份有限公司、厦门市三安集成电路有限公司、ARM、晶丰明源、恒玄科技等均为该公司的合作伙伴 。
众所周知 , 小米长江产业基金自成立以来已经投资了多家半导体企业 , 据统计 , 该公司对外投资的企业数量已经达到近40家 , 如格科微、芯原微、恒玄科技、翱捷科技等 。
至于晶丰明源 , 隔空智能并非其投资的首家半导体企业 , 在此之前 , 晶丰明源已经投资了5家半导体企业 , 包括上海莱狮半导体科技有限公司、上海芯飞半导体技术有限公司、上海汉枫电子科技有限公司、上海类比半导体技术有限公司、以及南京凌鸥创芯电子有限公司 。
文章图片
Source:企查查
据了解 , 晶丰明源成立于2008年10月 , 并于9019年10月正式在科创板上市 , 是国内主要电源管理驱动类芯片设计企业之一 , 主营业务为电源管理驱动类芯片的研发与销售 , 产品包括LED照明驱动芯片、电机驱动芯片等电源管理驱动类芯片 , 其中LED照明驱动芯片包括通用LED照明驱动芯片、智能LED照明驱动芯片 。
如今 , 小米长江产业基金再投资一家芯片企业 , 无疑将进一步完善小米在半导体领域的布局 。 而晶丰明源作为隔空智能的合作伙伴之一 , 此次也成为该公司的新晋股东之一 , 不仅将巩固双方的合作关系 , 同时还可以实现双方在业务上的互补 。
备注:以上内容为集邦咨询TrendForce原创 , 禁止转载、摘编、复制及镜像等使用 , 如需转载请在后台留言取得授权 。
封面图片来源:拍信网
推荐阅读
- 小米科技|外媒曝光:小米新奇想专利让超广角拍摄不失真
- 马斯克|马斯克推脑机接口芯片:安装不到1小时,植入活猪现场遛
- Xiaomi|华为入冬,小米回春
- 张帆|汇顶科技董事长张帆:上半年超薄屏下光学指纹发货超千万,ECG、PPG芯片已量产
- 新浪财经:华为余承东:正在想办法应对美芯片封杀新浪财经2020-08-29 12:03:400阅
- 马斯克|马斯克展示脑机接口:硬币大小芯片植入猪脑,实时读取猪脑信息
- 9月初长江中游主要控制站将退至警戒水位以下
- Mix|小米发布第三代屏下相机技术,或将在Mix 4上首秀?
- 【】马斯克活猪脑机接口试验成功:多芯片植入、硬币大小、实时读取脑电波 已获批人脑实验2020-08-29 09:56:140阅
- TSMC|台积电和Graphcore准备使用3纳米工艺制造AI加速芯片
