关联|争议中的胡祖六:关联8家公司,任高盛高华监事、工行独董等职务
_本文原题为 争议中的胡祖六:关联8家公司 , 任高盛高华监事、工行独董等职务

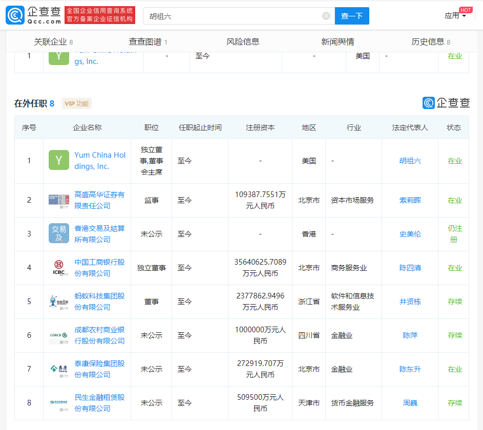
文章图片
新京报贝壳财经讯 近日 , 一篇《胡祖六 , 你的良心不会痛吗?》的文章引发争议 , 文章称 , 有投资者2011年买了胡祖六团队的基金 , 基金投资了蚂蚁金服 , 在以为可以大赚一笔的时候 , 发现该基金资产被转让给胡祖六的亲兄妹 , 导致100万每年的收益仅1000多元 。
对此 , 胡祖六执掌的春华资本对该篇文章做出公开声明回应 , 称该侵权帖其中包含大量虚假信息并构成诽谤、侮辱 , 严重侵害了春华及本集团创始人胡祖六先生的合法权益 。
企查查APP显示 , 胡祖六目前共涉及8家公司 , 其中包含高盛高华证券有限责任公司、香港交易及结算所有限公司、中国工商银行股份有限公司、蚂蚁科技集团股份有限公司、成都农村商业银行股份有限公司、泰康保险集团股份有限公司、民生金融租赁股份有限公司等 , 所涉及行业包含资本市场服务、商务服务、软件和信息技术服务、金融业、货币金融服务 。
【关联|争议中的胡祖六:关联8家公司,任高盛高华监事、工行独董等职务】编辑 徐超 校对 刘军
推荐阅读
- 刘哥说游戏|国乒四大世界冠军收到国际乒联邀请,将参加世界杯!但却引起争议
- 引领时尚新时代|她是饶雪漫书中的模特,和鹿晗在一起被赞般配,笑起来碾压林允!
- 天眼查|虎牙直播关联公司注册资本增加至约9.23亿元人民币
- 新华网|党徽在战“疫”一线闪光——疫情防控中的党员干部群像扫描
- 央视新闻客户端|世界周刊丨特朗普疫苗计划争议连连美国“十月惊奇”要来了么?
- 手机游戏|王者荣耀:每个位置都有一个队友不想看到的英雄,辅助争议最大!
- 英雄联盟|Uzi操作失误引争议,澡子哥强行解释,直言:你在黄金是有原因的
- 伽德鲁|《没落要塞》如果一切只是一场游戏,那么活着是否还有意义?末日中的假象看似命运的安排其实是一场游戏活着是否还有意义
- 灰色的漩涡|宁静遭怼:赶紧糊,《浪姐》后劲真大!黄龄方回应争议燃爆话题
- 央视新闻客户端|特朗普疫苗计划争议连连 美国“十月惊奇”要来了么?
