马化腾|马化腾放大招!微信"儿童版"要来了,网友:要跟小天才电话手表打架?
_原题为 马化腾放大招!微信"儿童版"要来了 , 网友:要跟小天才电话手表打架?
中国基金报采访人员 吴羽
微信儿童版要来了?9月15日 , 一则关于“腾讯申请微信儿童版商标”的消息冲上热搜 , 引发网友的关注 。
据南方+报道 , 微信方面正在进行微信儿童版的开发 。 如今最新动态出来 , 不少网友期待 , 微信儿童版是否即将面世?
腾讯申请微信儿童版商标
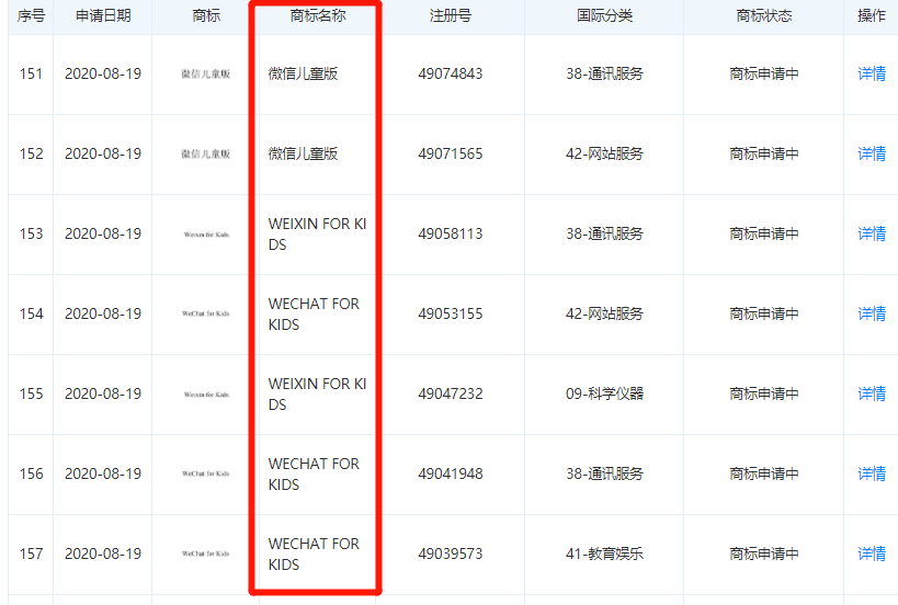
天眼查资料数据显示 , 8月19日 , 腾讯科技(深圳)有限公司申请注册多项“微信儿童版”及“WEIXIN FOR KIDS”商标 。 国际分类分别为“38-通讯服务”“41-教育娱乐”“09-科学仪器”等 。 商标状态均显示为“商标申请中” 。
文章图片
此前 , 据新京报贝壳财经报道 , 微信方面正在进行微信儿童版的开发 , 目前已经进入内测阶段 。
网友评论:简洁点 , 广告少些!
微信这一则新动态 , 引起网友的热议 。 微博已有超2.3亿关注 。 有的网友直言要用 , 认为这多了种选择 , 儿童版微信应该要简洁些 , 广告少些 。
也有的认为这很有必要 , “儿童版如果不能登陆王者荣耀啥的 , 不能注册相关游戏账户 , 也不错 。 ”
文章图片
但有的人则表示 , 腾讯“终究还是要对小学生下手了 ” 。
文章图片
而讨论最多的 , 还是追问几时可以安排一个老年版的?不少网友认为 , 老年人总是堆积一堆信息 , 每次都需要家里人清理空间 。
文章图片
要跟小天才电话手表打架?
此外 , 还有不少网友发出疑问:微信儿童版要和步步高小天才手表打架了嘛?
文章图片
文章图片
的确 , 在我国15岁以下的儿童高达2.5亿 , 是一块非常大的市场 。 在国家统计局2019人口数据解读中 , 2019年末 , 全国0~15岁人口为24977万人 , 占总人口的17.8% 。
此前 , 针对低龄群体的社交和安全需求 , 儿童手表解决了这个痛点 , 并且随着低龄群体数量的增加 , 相关的需求也在不断加大 。据极光大数据的资料显示 , 截至2019年2月 , 儿童智能手表app的用户规模达4630万 , 较去年同期增长近50% 。
步步高小天才手表为当中的龙头 。 2015年小天才出货量达107.6万台 , 2016年达360.4万台 , 出货量同比增长234.9% 。 2018年出货量为2167万台 , 2019年出货量为604.5万台 。 2019 年 7 月小天才推出旗舰产品 Z6 , 首发之日一个小时内销售额便突破 1000 万元 , 儿童手表行业如此热闹的场景着实罕见 。
文章图片
据悉 , 该手表既具有定位功能又能打电话的手表等基础功能 , 而且有视频通话、社交、运动计步等 , 慢慢趋向安全+娱乐+健康 。
因而 , 此次腾讯或许推出的微信儿童版 , 难免让人联想到 , 腾讯是否要跨界杀入低龄群体 。
文章图片
不过 , 市场也有声音认为 , 也许微信儿童版就会用在儿童智能手表 。
微信用户已超12亿
据腾讯近期发布的2020年第二季度及上半年业绩报告 , 截至2020年6月30日 , 微信及 WeChat 的合并月活跃账户数已高达12.06亿 , 同比增长6.5% , 环比增长0.3% 。
文章图片
在如此大量的用户当中 , 存在着大量的未成年用户 , 如何能够让未成年人可以更“健康”地使用微信成为了社会各界关注的焦点 。
随着微信功能的日趋强大 , 再加上受疫情影响 , 云学习方式已经成为不少青少年的日常 , 但身处社交化、信息化的时代 , 能拥有免受外界干扰的沉浸式环境 , 集中精力进入深度学习 , 已经成为学生的学习诉求 。
但微信作为一个月活10亿级别的APP , 里面有微信公众号 , 微信小程序 , 微信小游戏、微信看一看等等 。 每天会产生海量的信息 , 而这些信息很有可能包含一些对未成年人有害的信息 。 而使用微信的未成年用户很有可能直接接触到这些有害信息 。
推荐阅读
- 警示|警示!这样做,你的微信将面临封号!
- 杨超越|《中餐厅》放大招,王俊凯回归不算啥,飞行嘉宾全是顶级流量
- 消息资讯|2020年广西广播电视大学和国家开放大学函授大专/本科招生火热进行中
- 银行|中国银行:10月11日个人网银、个人手机银行、微信银行暂停服务
- 功能|微信又双叒叕更新了!3项功能这类人不能用!
- 医保|@广州中小学新生家长 城乡医保可微信申办扣费账户
- 生活放大镜|2021年起,农村老房子一律按“新规”办,户口更加值钱!
- 直播|视频号正式进军直播带货、打通小商店,微信在下一盘大棋?
- 缴费|广州新生家长注意!学生医保可以微信缴费
- 申报|@新生家长,广州中小学生医保参保可微信线上办理
