音乐|网易云音乐申请网愈云商标
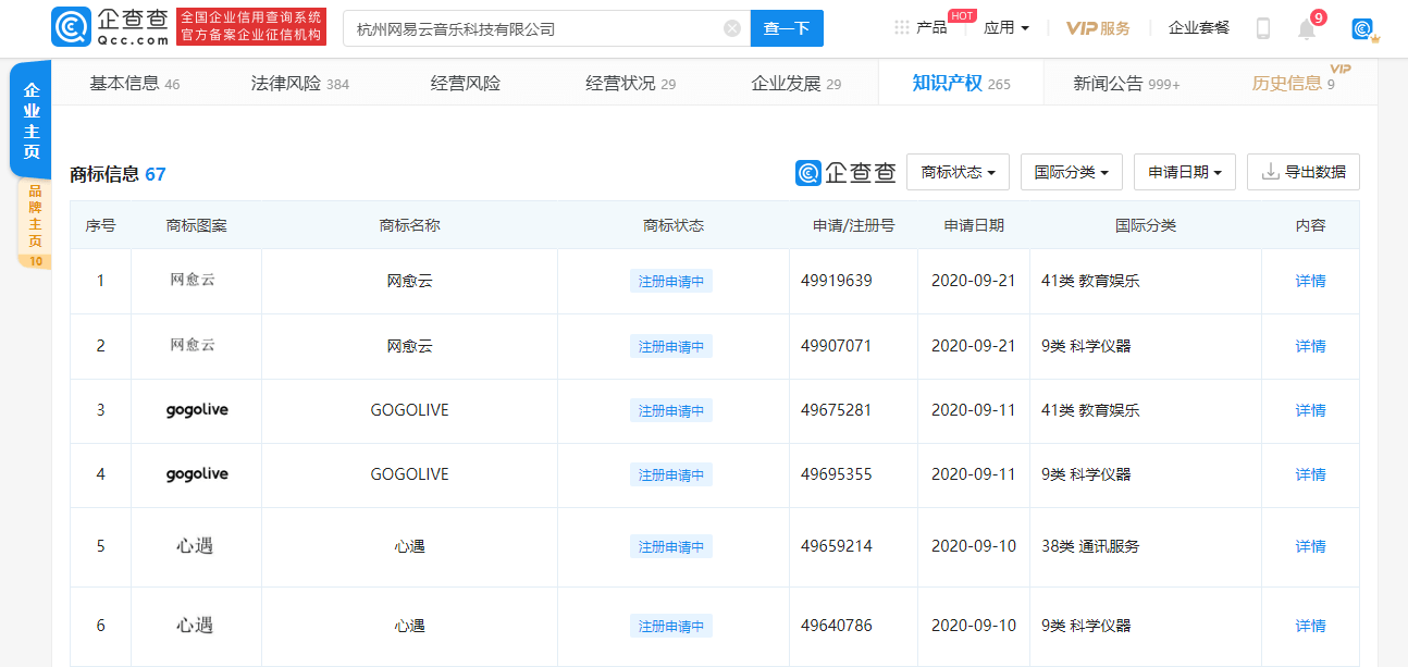
【音乐|网易云音乐申请网愈云商标】新京报贝壳财经讯 企查查APP显示 , 近日 , 杭州网易云音乐科技有限公司申请“网愈云”商标 , 申请日期为2020年9月21日 , 国际分类涉及“教育娱乐”、“科学仪器” , 目前商标状态显示为“商标申请中” 。
文章图片
编辑 陈莉 校对 李项玲
推荐阅读
- 地下城与勇士|网易最新刷图网游不日公测!比DNF赚钱,搬砖玩家已疯日入万元
- 游戏早知道|你真的了解维京人吗? 原创中文广播剧《英灵殿的回声》现已登陆酷狗音乐、蜻蜓FM和5sing
- cnBeta|Apple Music TV 进行24小时音乐视频直播,苹果推出
- 大学|这5所大学申请“改名”,将升级为一本院校,明年分数线会上涨
- 音乐|李克勤五张嘢依然勤力做音乐!佢首5台冠军歌你听咗未?
- 公司|被申请强制执行 春兴精工股东拟减持不超过6.23%的股份
- 南方娱乐网|《不知所措》《火海》《我还是》, QQ音乐×快手「12号唱片」原创热单频出
- 网易娱乐|劲爆!邓紫棋回怼粉丝 却受网友点赞支持
- 网易娱乐|王祖蓝回应女儿身高:随我老婆怎么了!长得像我
- 网易娱乐|胡歌被问担不担心粉丝流失:你可以去看看其他人
