死亡|北京时间10月5日,印度疫情不容乐观,死亡人数突破10万人!
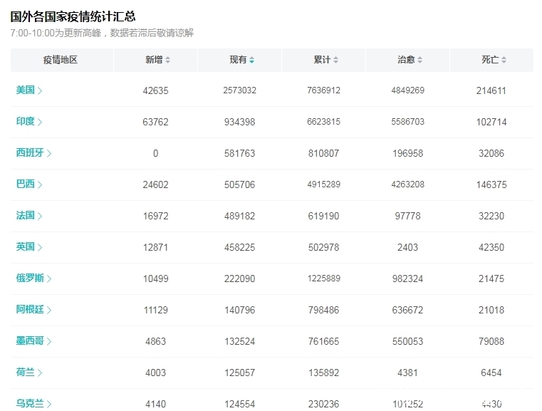
截止到10月5日下午17点,根据海外疫情最新数据统计,目前海外累计确诊新冠肺炎的病例总人数为35,333,066人,较昨日相比单日增长284,785人,现有确诊病例人数为8,019,194人,较昨日相比单日增长45,408人,这也是现有确诊病例首次突破800万人口大关。
文章图片
目前根据海外疫情的发展趋势来看,在新增确诊的国家排行榜当中,印度仍然以63,762人的单日增幅位居世界第一,这个位置印度已经保持了近一个多月之久,同时美国单日新增在今日也出现增长,依然保持在4万人以上的增长幅度。
文章图片
虽然今日印度单日新增较前几日相比有所下降,但是对于目前印度疫情而言,这仍然算不上是好的消息,目前印度现有确诊病例934,398人,仅次于美国,而根据新增趋势来看,印度的累计确诊病例数恐怕在未来一个月的时间内就将超越美国,现有确诊病例数也即将步入100万人口大关。
文章图片
除了累积确诊病例基数以外,印度目前死亡人数也不容乐观,累计死亡人数已升至102,714人,仅次于美国和巴西位列世界第三,同时如果印度仍然没有从根本性控制疫情发展,那么恐怕死亡人数也即将赶超美国。
【 死亡|北京时间10月5日,印度疫情不容乐观,死亡人数突破10万人!】
文章图片
目前印度的新增趋势有放缓痕迹,但是相对于其他国家来讲,印度的增长幅度仍然是世界领先水平,9月份是印度疫情爆发以来最严重的一个月,平均每天有1000多人死于新冠病毒,然而尽管如此,也有不少专家对印度疫情的数据统计持以怀疑态度,认为印度实际死亡人数远超官方统计的数据,这也与印度检测能力较弱,医疗卫生系统较差有关,印度的实际疫情严重性恐怕要比明面上的检测数据来的严重的多的多。
文章图片
推荐阅读
- 巴西|巴西累计新冠死亡病例数破15万
- 死亡病例|美国新增新冠肺炎确诊病例55431例 累计7706256例
- 著名茶艺师|著名茶艺师章岚:用心泡茶,以心交友
- 新冠肺炎疫情|国家卫健委:10月10日新增确诊病例21例,均为境外输入
- 华为|华为在法国设研发中心
- 枪击事件|美国丹佛市中心抗议活动发生枪击事件 造成一人死亡
- 上游新闻|美国爆发水貂新冠疫情,上万只水貂被人类传染后死亡
- 朱之文 |大衣哥儿子太实在,一动作逗乐众网友
- 考试|收藏!10月考试月历来啦!
- 罕见|特朗普罕见批评蓬佩奥,后者回应了
