油条|今日头条起诉“今日油条”!还有饼多多、快手抓饼...…网友为这事吵翻
_原题为 今日头条起诉“今日油条”!还有饼多多、快手抓饼...…网友为这事吵翻
10月15日 , 有采访人员从企业信息查询平台天眼查看到 , 北京字节跳动科技有限公司以商标权权属、侵权纠纷为由 , 于广州知识产权法院 , 起诉了河南今日油条餐饮管理有限公司、河南烧烤者食品有限公司及郑州市金水区今日油条早餐店 。
北京字节跳动科技有限公司背后即知名的互联网公司字节跳动 , 旗下拥有新闻阅读App今日头条、短视频App抖音等多款产品 。
详情请戳视频
到底怎么回事呢?
原来
最近有这么一家油条店
——“今日油条”
上了热搜
迅速火成了热门打卡地
文章图片
那么它为什么迅速走红呢?
主要靠模仿和碰撞大牌
比如品牌LOGO↓
文章图片
文章图片
文章图片
菜单也是模仿
今日头条的界面
文章图片
连slogan都不放过
“关心你的 , 才是好油条”
文章图片
除了“撞脸”今日头条 , 今日油条每一处
还充满了其他品牌的影子
比如柜台的展板
可以看到翻版的西贝莜面村
文章图片
还有广告牌
有没有一种熟悉的感觉?
文章图片
文章图片
不仅如此 , 店家还跳出餐饮行业
连电器品牌都模仿了
看 , 这似曾相识的广告语……
“好油条 , 今日造”
文章图片
文章图片
“今日油条”到底是什么
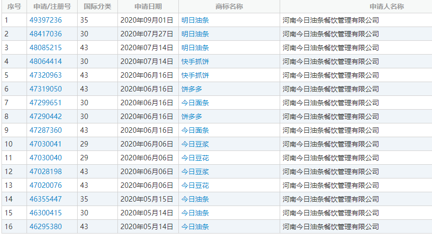
根据工商登记和中国商标网信息 , 今日油条公司于2020年5月13日在郑州成立 , 注册资本100万元 , 该公司于6月至9月 , 在食品、餐饮住宿、方便食品等类目 , 申请注册了今日豆花、今日面条、饼多多、快手抓饼、明日油条等商标 , 部分申请流程处于等待实质审查状态 。
文章图片
文章图片
天眼查显示 , 该公司有一条网站备案记录为www.jryoutiao.com , 网站名称为今日油条 。
点击该网站可见关于今日油条的介绍:河南烧烤者餐饮管理有限公司历经8年市场积淀 , 已成为集烧烤饮食文化研究、烧烤食材及设备研发供应、烧烤行业策划咨询、烧烤技术培训、烧烤品牌运营及加盟服务等综合战略业务于一体品牌化餐饮连锁集团 , 公司现运营有:“梁山烤肉”、“水浒烤肉”、“京城铁帽子王”、“烧烤客”、“今日油条”等五大餐饮连锁品牌 。
郑州市金水区今日油条早餐店为个体工商户 , 核准日期为2020年6月16日 , 经营者为赵亚东 。
2020年8月 , 字节跳动以商标权受到侵犯为由 , 将今日油条公司等被告诉至法院 。 目前该案正在进一步审理中 。
今日油条表示:被起诉有点懵
河南今日油条餐饮管理有限公司(以下简称:今日油条)法定代表人张新亚回复采访人员称 , 他从事餐饮行业已有5年 。 今年5月 , 他成立今日油条公司 , 现在郑州城区有3家店面 , 卖豆花、豆浆和油条 。 被今日头条起诉后 , 他有点懵 , 但已积极应诉 。 目前 , 判决结果还没下来 。
推荐阅读
- 今日趣闻|爱豆接连出事,这次轮到王嘉尔了,夜会美女实则工作相关
- jszgz|如果取消教师编制,对教育的发展是利还是弊?思鸿教育今日提问
- 今日趣闻|李诚儒再点评陈凯歌作品仍“不留情面”,称陈导还想拍京剧传记片
- 今日趣闻|美图秀秀、美颜相机业内首发CG脸功能, 明星打卡掀起自拍新潮流
- 回访|清风头条丨雁峰区:回访教育,变“有错”为“有为”
- 科技|搭讪百度连理头条掌阅科技嫁入豪门能否翻身?
- 头条近期图文|湖南卫视11.11超拼夜晚六网第一!歌手返场姐姐重聚太燃了
- 头条近期图文|双十一晚会节目单阵容曝光,王源再遇舞台事故,粉丝:发挥好稳
- 今日趣闻|黄景瑜和吴谨言很会吻,导演全程姨母笑:哇哦,没喊停是对的
- 今日事|周星驰“再三邀请”却请不动她,短短2年就过气,如今靠走穴为生!
