控股|“海航系”城商行改姓“华君系”?揭70后实控人资本局
文章图片
作者 | 宋冠宇
来源 | 野马财经
素有“低调富豪”之称的孟广宝一手打造了“华君系” 。 孟广宝曾直言 , 若入股上市公司 , “必须实现控股 , 否则不去 。 ”
“华君系”在孟广宝的掌舵下 , 确实先后多次涉足A股上市公司 , 却均未如愿实现控股 。 失之东隅 , 收之桑榆 。 这一次 , 营口沿海银行股东构成之谜又与“华君系”扯上关系 。
营口沿海银行改姓“华君系”? 营口沿海银行(下称“沿海银行”)成立于2010年 , 由海航酒店等9家企业作为股东共同发起组建 , 初始注册资本15亿元 。
当时“海航系”是沿海银行的第一大股东 , 沿海银行也成为“海航系”金融布局的重要一环 。 不过 , 2018年 , 沿海银行注册资本增至20.5亿元 , 有新的股东进入 。 此次增资后 , “海航系”的持股比例从最初的逾50%下降至23.41% 。
而这家曾经的“海航系”城商行 , 如今的股东构成却暗流涌动 。
工商资料显示 , 沿海银行目前第一大股东是海航酒店 , 持股14.63%;第二大股东是“华君系”的核心华君控股 , 直接持股13.9% , 此外华君控股还间接持股4.2% , 如此推算累计持股18.10% 。
事实上 , “华君系”能够控制的股份远不止于此 。
野马财经查询发现 , 在营口沿海银行的股东中 , 有多家公司与华君控股有密切联系 。
企查查数据显示 , 持股比例为4.9%的金实雅丽涂料联系电话与华君地产(营口)有限公司、华君地产(辽宁)有限公司的电话一致 。 据国家企业信用信息公示系统数据显示 , 金实雅丽涂料的实控人是孟广柱 , 其所持股份已经质押给了“华君系”的公司 。
文章图片
图片来源:国家企业信用信息公示系统
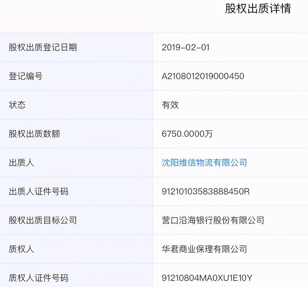
此外 , 持股沿海银行4.4%的维信物流和持股4.23%的恒固物资的电话也是同一个 , 且与华君控股、昌达广告电话一致 。 同样的 , 这两家公司的实控人也将股权出质给了”华君系“的公司 。
文章图片
文章图片
图片来源:企查查
对此 , 野马财经拨打了上述几家公司的电话 , 欲了解其与“华君系”的关系 , 却发现这几家公司在几个公示平台留的是同样电话 , 且目前都是空号 。
此外 , 沿海银行还有5家法人股东与“华君系”有着密切关系 。
早在2015年 , 华君控股就是富邦文化的大股东 , 现如今富邦文化实控人是包丽敏 , 后者在百度百科的介绍是“华君系”公司的首席风控官;持股沿海银行4.5%的澳海文化实控人李俊波曾任“华君系”公司监事一职;持股4.8%的当代集团实控人于晶为“华君系”高管 。
“华君系”与沿海银行股东的交集远不止于此 。
持股沿海银行4.6%的欧克装饰和持股4.5%的朗丰建设都属于欧克集团 , 而“华君系”控股的保华实业在2018年7月31日之前 , 曾是欧克集团旗下欧克建筑的全资公司 。
文章图片
图片来源:企查查
值得关注的是 , 华君控股、富邦文化和澳海文化在今年9月先后成为了另外5家公司的控股股东 。
按照上述情况 , 从下图总结的数据来看 , 如果将与“华君系”有关的这些公司所持沿海银行股份比例相加 , “华君系”能够施加影响的股份达到71.89% , 远超于“海航系”23.41%的持股 。
推荐阅读
- 高铁|我国首条民营控股高铁正式通车!连接杭州和台州
- 吉利|西安市新增高风险地区2个:吉利控股携李书福公益基金会捐3000万
- 智米科技|曝小米开启双线造车:控股公司智米科技已开始筹备 首款车是SUV
- 清华|紫光集团:清华大学拟无偿划转清华控股100%股权给四川能投
- 搜狗|王小川已退出搜狗公司股东:由腾讯控股 曾表示“搜狗就是我老婆”
- 高铁|我国首条民营控股高铁!杭台高铁今日试运行
- 董明珠|董明珠发力新能源:格力电器控股子公司银隆更名“格力钛”
- 雪梨|直播电商行业首起员工腐败案公开,雪梨团队成员被曝贪污300万
- 破产|董事长被采取强制措施!海航控股公布重整计划
- 中国电信|破发压力山大:中国电信控股股东拟增持40亿元
