「美国」北京时间6月5日15时,美国又传来噩耗,美媒:特朗普的任期“结束”了

文章图片

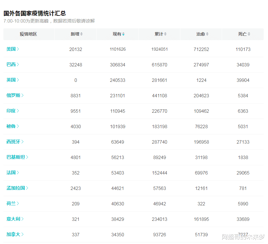
文章图片
随着时间的增长 , 很多人对国外的疫情已经麻木了 。 特别是到了今天 , 仍然有许多国家防控疫情漫不经心 , 已经抱着无所谓的态度 , 似乎就是想抱着群体免疫的态度 。
【「美国」北京时间6月5日15时,美国又传来噩耗,美媒:特朗普的任期“结束”了】现在巴西的疫情发展十分迅猛 , 日增长人数连续几日赶超美国 , 而且巴西的累计确诊人数已经突破60万 , 已经有615870人感染新冠肺炎 。
还有俄罗斯的疫情 , 已经过了很久 , 依旧没有呈下降趋势 , 日增幅都在8000例以上 , 其次印度的增长速度也是一样 , 新增人数甚至还突破了1万 。 向巴基斯坦 , 孟加拉国的疫情也比较严重 。 总的来说 , 国外疫情之路还很长远 。 就单看美国这一个国家 , 就已经很恼火了 。
美国现在的确诊人数已经达到192万 , 现在确诊人数还是在100万以上 。 然而就是在这样的情势下 , 美国又传出悲惨消息 , 许多城市发生动乱 。 许多人在街上示威游行 , 开始抗议 , 时间愈演愈烈 。 最后从一场抗议活动演变成了一场暴乱 。 街上到处都打砸 , 烧抢的痕迹 , 许多地方已经是废墟一片 , 看着触目惊心 。
面对人民群众的抗议 , 特朗普首先想到的就是用暴力解决暴乱 。 特朗普还暗示可以采用必要手段来制止暴乱 , 于是许多人在这场暴乱中失去了生命 。 因此特朗普遭到人民群众的强烈谴责 。 根据最新调查显示 , 特朗普的支持率跌倒谷底 , 反而拜登遥遥领先特朗普 。
所以很多人表示特朗普的任期快要结束了 。 而且连任的可能性几乎为零了 。 对于这件事情 , 大家有什么看法呢?欢迎留言讨论 。
推荐阅读
- 美国_时政|参与者已达1500万~2600万,“黑命贵”何以成为美国史上最大运动?
- 【】北京确诊病例情况汇总 一图看明白→
- 【】疫情严峻 分裂加剧——今年美国“生日”不快乐
- 【】美国南卡罗来纳州发生枪击案 已造成12人受伤
- 【】北京:6月11日以来新冠肺炎确诊病例334例 47%为新发地市场工作人员
- 抗议者在白宫外烧美国国旗意味着什么?抗议者在白宫外烧美国国旗具体情况
- 美国南卡罗来纳州发生枪击案真相是什么?美国南卡罗来纳州发生枪击案背后的真相
- 美国|国际锐评丨“开车睡着”的蓬佩奥们想把美国人民带向何方?
- 生活在线吧|特朗普脸色挂不住了,希拉里:美国再次伟大!FDA爆猛料
- 上观新闻|张文宏:今冬可能面临第二波新冠疫情挑战,但美国巴西第一波高峰还未出现
