『蓝盈莹』“姐姐”蓝盈莹富二代背景曝光,父母生意失败关7家公司今非昔比

文章图片

文章图片

文章图片

文章图片

文章图片

文章图片

文章图片
近日 , 热门大综艺《乘风破浪的姐姐》开播之后 , 收获一路人气以及平台热度 , 这是近年来少有的讨论度颇高的现象级综艺 , 盖因节目组别出心裁 , 邀请的嘉宾“姐姐”们基本上都是出道已久 , 甚至早已成名多年的女艺人 , 而她们无一例外都有各自的话题以及拥趸 。
目前 , 有平台对《乘风破浪的姐姐》首播进行了问卷调查 , 在这4万人投票的调查当中 , 人气最高的女艺人中前三位分别是万茜、张雨绮、蓝盈莹 , 蓝盈莹能够在众多“高手”当中杀出重围 , 获得相当高的关注度 , 确实让人出乎意料 , 坊间很多评论都将蓝盈莹当做首播的最大黑马 。
另外 , 虽然在人气榜上 , 蓝盈莹并没有一骑绝尘 , 但是也进入了前十位……在首播当中 , 蓝盈莹的弹唱外加跳舞赢得好评 , 在全开麦的情况下拿到了全场最高分91分 , 荣获节目开播后首个第一 。
蓝盈莹在平时的自晒自拍中就“多才多艺” , 弹琴跳舞样样皆精 , 因此她能够在首秀中拿下第一对于业内人士来讲也不算太意外 , 但是随着蓝盈莹的话题度增长 , 有关她的家庭背景的讨论也一并发酵起来 。
目前 , 很多文章都称蓝盈莹是富二代 , 家里父母都是做生意的 , 但是具体详情却没有任何人披露 , 蓝盈莹的家庭背景到底如何 , 她真的是富二代吗?实际上 , 蓝盈莹是随母姓 , 其生母是蓝雪球女士 , 她是一位女强人 , 蓝盈莹曾经晒出过和母亲的合照 , 照片中蓝雪球女士显得十分年轻并显得很和蔼 。
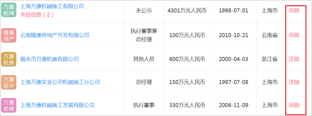
蓝雪球女士曾和蓝盈莹开设过一家公司 , 目前这家公司已经被注销 。
其中 , 蓝雪球女士参与的“万康公司”的法人名为陈凡 , 媒体“观察者网”曾报道过“万康机械施工有限公司(以下称万康公司)法人代表陈凡——也就是蓝盈莹的父亲” , 而媒体“海峡都市报”则引述爆料报道称“蓝盈莹父亲是继父 , 叫陈帆” , 现在对照来看 , 当初媒体的报道有误 , 不管是不是蓝盈莹的继父 , 都应该叫“陈凡”才对 。
蓝盈莹的这位父亲不同寻常 , 曾经在做生意全盛之时控股7家公司 , 相当有实力 , 再加上蓝盈莹母亲蓝雪球女士投资、控股持股、担任法人的3家公司 , 蓝盈莹的父母总共投资、控股持股、担任法人的公司有10家 。
但是由于种种原因 , 蓝盈莹的父亲做生意失败 , 最终其父亲所参与的公司足足注销了5家之多 , 如今仅剩下两家参股的公司 , 而且母亲蓝雪球女士的三家公司(控股)也已注销了两家(见上图) 。
推荐阅读
- 【伊能静】乘风破浪的姐姐们的学历曝光,全是学霸,伊能静没上高中
- 悟师姐娱乐汇|晒三人搞笑合影力破不和传闻,反转来了?吴昕高情商为蓝盈莹解围
- 娱乐大起底|《乘风破浪的姐姐》公演舞台来袭:看珍爱网大数据解析女性如何实现自我价值
- 纳兰泽|是网友对年老色衰的淡然?,《乘风破浪的姐姐》好评如潮的背后
- 『张萌』姐姐们在认真比赛,张萌却在《浪姐》挖人,已成功签了一位
- 时政快递|你怎么这么能“作”?,黄龄姐姐
- 离歌倾城|遇到野心勃勃的蓝盈莹,为何被骂的却是蓝盈莹,毫无上进心的吴昕
- 阿木木侃侃看|再看看范丞丞姐姐,网友:根本就不是一个档次的,看了刘昊然姐姐
- 晶晶重磅八卦|这也太尴尬了吧,大写的心疼,《乘风破浪的姐姐》张萌分组名场面
- 『伊能静』跟《浪姐》终止合同?这位姐姐终于把自己作死了!
