安记食品1批次鸡精大肠菌群超标,曾多次上抽检“黑榜”
新京报讯(采访人员 刘欢)7月18日 , 新京报采访人员从深圳市市场监督管理局了解到 , 安记食品股份有限公司(简称“安记食品”)1批次鸡精被检出大肠菌群超标 。 据了解 , 这并非安记食品第一次上“黑榜” 。
资讯频道http://zixun.iweiba.cn/list-1.html
此次抽检通报显示 , 标称安记食品生产的“安记”鸡精调味料浓香型(颗粒状 , 908克/包 , 2019-05-08) , 大肠菌群检出值为230MPN/100g , 而《鸡精调味料》(SB/T 10371-2003)中规定 , 鸡精调味料的大肠菌群≤90MPN/100g 。
资讯频道http://zixun.iweiba.cn/list-1.html
深圳市市场监管局称 , 大肠菌群是国内外通用的食品污染常用指示菌之一 。 食品中检出大肠菌群 , 提示被致病菌(如沙门氏菌、志贺氏菌、致病性大肠杆菌)污染的可能性较大 。 食品中检出大肠菌群不合格提示食品可能受到肠道致病菌污染 , 人食用后可能会出现呕吐、腹泻等消化道症状 。
新京报采访人员了解到 , 安记食品为A股上市公司 , 1995年成立 , 2015年12月9日在上海证券交易所上市 。 该公司专注于调味品的研发、生产和销售 , 主要产品包括复合调味粉、天然提取物调味料、香辛料、酱类、风味清汤等 。
据了解 , 这并非安记食品首次登上食品安全抽检“黑榜” 。 据报道 , 2011年 , 原浙江省工商局在流通环节食品的抽检中发现 , 安记食品生产的鸡精(2011-07-11)检测不合格;2008年 , 原安徽省工商局公布安记食品生产的味精(2008-2-25)被检出硫酸盐项目不合格;2007年 , 原深圳市工商局在第4季度调味品质量监测中抽检出安记食品生产的鸡精(2007-10-12)大肠菌群不合格 。
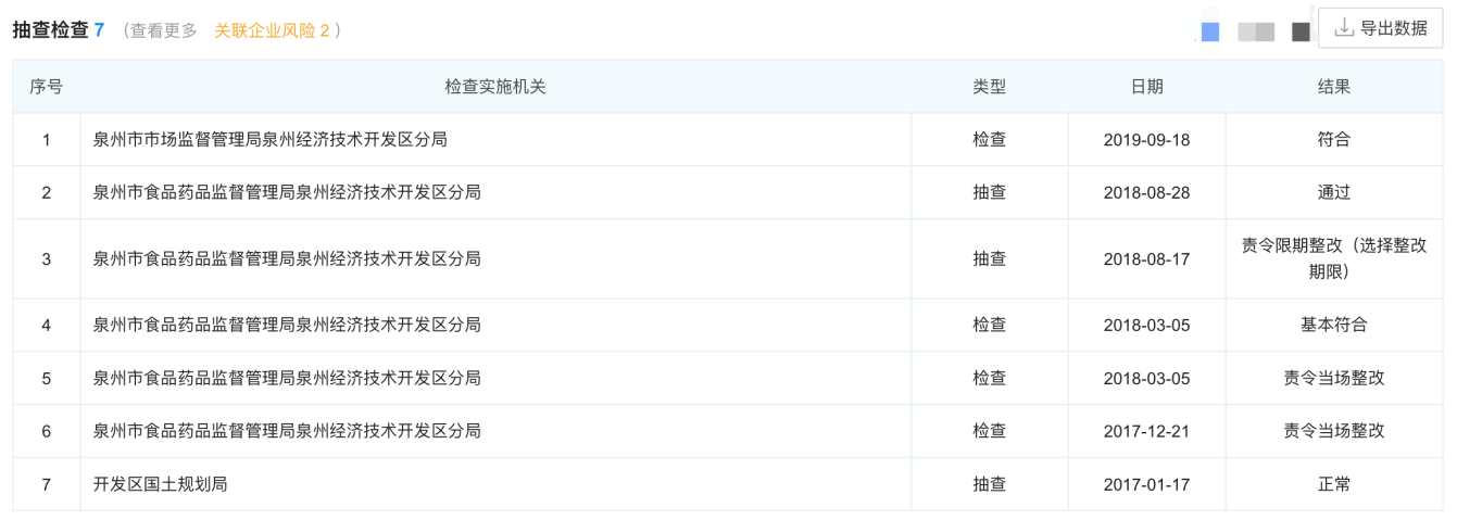
值得注意的是 , 企查查数据显示 , 安记食品从2017年至2019年之间的7次抽查检查中 , 有3次被责令整改 。
资讯频道http://zixun.iweiba.cn/list-1.html
推荐阅读
- 简单观察|生态豫坡——中国绿色食品发展中心调研组赴豫坡酒业调研侧记,红色引领
- 上市|知名休闲食品商上市 甘源食品冲刺零食龙头股
- 食品安全事故|11人吃了这个中毒,1人抢救无效身亡!官方通报来了!
- 中国消费品质量安全|有哪些食品类许可?怎么办理?,想开餐馆或作坊
- 股票行情|分享一个值得长期关注的领域,人造肉的上游企业:(双塔食品)
- 高考志愿|本科批次合并,专家教你挑大学选专业
- 遂宁万事通|网友投诉遂宁一大型超市销售变质食品,官方正式回复!
- 钟怀|上海紫燕食品欲上市 4000家门店卤味大餐有多香?
- 这里最临沂|平邑县市场监督管理局召开全县食品监督管理工作会议
- 体育健康特搜组|京东商城乳酸菌饮品有霉点 喝完拉肚子?喜乐食品公司:正常
