全屏|【专利解密】全屏指纹识别技术之TCL华星光电
【 全屏|【专利解密】全屏指纹识别技术之TCL华星光电】华星光电发明的全面屏指纹模组,通过设置于基板的识别区内的指纹识别构件以及设置于基板的非识别区内的指纹芯片,增加指纹识别面积,实现全屏幕指纹识别。
集微网消息,由于屏幕指纹识别技术成为主流,越来越多的旗舰手机开始使用OLED屏幕。LCD屏幕由于有背光的存在和面板天然无法透光等技术限制,所以LCD迟迟未能量产屏下指纹。TCL华星作为全球面板产业领先企业,已于2019年成功开发出适用于LCD面板的屏下指纹产品,预计在今年推出屏内指纹技术。
指纹是人类手指末端指腹上由凹凸的皮肤所形成的纹路,由于指纹重复率极小,大约150亿分之一,因此可以用来进行身份识别。电容式指纹识别原理基于指腹上凹陷的皮肤和凸起的皮肤所感应的电容有差异,通过采集手指按压在指纹识别器上所感应的电容差异,可以还原指纹的形貌,进而进行指纹辨识。
为了实现全屏幕指纹解锁,华星光电在18年8月28日申请了一项名为“指纹模组和显示设备”的发明专利,申请人为武汉华星光电技术有限公司。
根据该专利目前公开的专利,让我们一起来看看这项全屏幕指纹解锁技术吧。
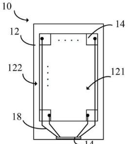
文章图片
如上图为该专利中发明的指纹模组的结构示意图,指纹模组10包括基板12、多个指纹识别构件14、指纹芯片16以及多个金属线18。基板用于识别指纹的识别区121和位于识别区的外围的非识别区122,指纹识别构件设置于基板的识别区内,指纹芯片设置于基板的非识别区内。
每一个指纹识别构件通过对应的金属线18连接至指纹芯片16,该专利中提及,可以通过设置于基板的识别区内的指纹识别构件以及设置于基板的非识别区内的指纹芯片,增加指纹识别面积,从而实现全屏幕指纹识别。
指纹识别构件通常使用硫化铅、锑化铟等光电材料,红外光探测器的红外光探测材料通常为碲锡铅或碲镉汞等。指纹识别构件呈矩阵排列,是识别区内的最小指纹识别单元。
文章图片
如上图为显示设备的结构示意图,显示设备20包括依次层迭的指纹模组10、显示面板22以及背光模块24,背光模块包括白光发光二极管241和红外光发光二极管242。
显示设备还包括第一光学胶层26、第二光学胶27及盖板28,第一光学胶层设置指纹模组与显示面板之间,第一光学胶层用以黏结指纹模组与显示面板,使指纹模组稳定地固定于显示面板上。
盖板设置于指纹模组上,用以保护指纹模组,第二光学胶层设置于盖板与指纹模组之间。第二光学胶层用以黏结盖板与指纹模组,使盖板稳定地固定于指纹模组上,以保护指纹模组。
以上就是华星光电发明的全面屏指纹模组和显示设备,这种指纹模组和显示设备能通过设置于基板的识别区内的指纹识别构件以及设置于基板的非识别区内的指纹芯片,增加指纹识别面积,实现全屏幕指纹识别。另外,还能有效减少显示设备的边框,有利于显示设备提升屏占比,利于全屏幕设计。
关于嘉德
深圳市嘉德知识产权服务有限公司由曾在华为等世界500强企业工作多年的知识产权专家、律师、专利代理人组成,熟悉中欧美知识产权法律理论和实务,在全球知识产权申请、布局、诉讼、许可谈判、交易、运营、标准专利协同创造、专利池建设、展会知识产权、跨境电商知识产权、知识产权海关保护等方面拥有丰富的经验。
推荐阅读
- 小米科技|外媒曝光:小米新奇想专利让超广角拍摄不失真
- 严正|科创板专利诉讼第一案 庭审再揭“安翰的谎言”重庆金山科技严正声明
- 「IT之家」TCL 屏下摄像头手机专利曝光:背部含有神秘突起IT之家2020-08-29 07:33:180阅
- 浪里王|解密苏南模式,探索水瘪子之谜
- Galaxy|三星被“专利巨魔”Garrity盯上,Galaxy系列被告专利侵权
- 解密|解密“聚热舱38度鞋”,为何这双鞋无源也能恒温!
- 伸缩|卷轴柔性屏加持!OPPO伸缩屏手机专利曝光
- oppo|OPPO拉伸屏设计专利曝光 手机显示面积可增加80%
- Tencent|腾讯科技(深圳)有限公司申请自动驾驶、车辆碰撞预警等专利
- 控制|航天科技集团第二十一届中国专利奖成果丰硕
