每日经济新闻|中国驻加拿大大使馆连发2条重要通知!
中国驻加拿大大使馆官网在7月28日、29日两天连续发布2条重要通知!
通知内容如下:
1、关于使用心理平台为在加拿大留学人员提供心理支持服务的通知为帮助广大在加拿大中国留学人员预防和减轻因疫情所致的心理困顿 , 确保身心健康 , 今年6月17日以来 , 中国驻加拿大使馆和有关总领馆特别邀请渥太华、多伦多、蒙特利尔、温哥华、埃德蒙顿等地资深华人心理专家通过服务热线为留学人员提供心理支持服务 , 受到留学生朋友欢迎 。 近期我馆在国内有关机构支持下结合微信平台开发了新的心理支持平台 , 为留学人员提供更丰富的服务 。

每日经济新闻|中国驻加拿大大使馆连发2条重要通知!//关注http://g.xuan6.com/
一、心理支持服务对象为所有在加拿大留学的中国留学人员 。
二、本活动为公益性质 , 受邀心理专家义务为中国留学人员疏解心理困惑 。
三、活动形式为电话热线或微信在线沟通 , 有需要的留学人员按照专家提供支持的服务时间 , 通过电话或微信平台进行 。
四、本活动为心理沟通和交流 , 非专业心理咨询 , 心理专家不承担医疗等相关法律责任 。 接受心理支持服务的留学人员必要时 , 请寻求所在学校或相关专业心理咨询机构和相关医院的帮助 。
微信预约平台二维码:
每日经济新闻|中国驻加拿大大使馆连发2条重要通知!。
每日经济新闻|中国驻加拿大大使馆连发2条重要通知!//关注http://g.xuan6.com/
2、关于提醒经有关国家中转赴华乘客做好核酸检测的通知一、自加拿大搭乘直飞航班赴华 , 或经未实施凭新冠病毒核酸检测阴性证明登机的国家中转赴华的中、外籍乘客 , 暂无需凭核酸检测阴性证明登机 。 中国公民仍可直接凭有小飞机标识的国际健康码登机 。

每日经济新闻|中国驻加拿大大使馆连发2条重要通知!//关注http://g.xuan6.com/
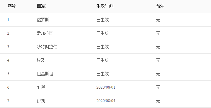
每日经济新闻|中国驻加拿大大使馆连发2条重要通知!。二、部分国家已实施赴华乘客凭新冠病毒核酸检测阴性证明登机的措施(见下表) 。

每日经济新闻|中国驻加拿大大使馆连发2条重要通知!//关注http://g.xuan6.com/
鉴此 , 自加拿大出发 , 经上述国家中转 , 搭乘航班赴华的中、外籍乘客 , 须预先在加拿大完成核酸检测 , 并凭核酸检测阴性证明申领带“HS”标识的绿色健康码或健康状况声明书 。 航空公司将在乘客中转登机前予以查验 。 需要强调的是 , 拟在上述国家中转赴华的乘客 , 请务必确保在中转时上述健康码或健康状况声明书有效 , 否则将造成滞留等后果 。
(一)检测时间和检测机构
赴上述国家中转的所有旅客 , 应于中转登机前5天内完成核酸检测 。 中国驻加拿大使领馆指定或认可的检测机构名单详见本通知附件1 。
(二)中国公民申领健康码办法
赴上述国家中转的中国公民 , 应在获得核酸检测阴性证明24小时内 , 通过防疫健康码国际版微信小程序B入口 , 申报个人情况并拍照上传核酸检测阴性证明 。 经中国使领馆复核通过后 , 当事人可获得带“HS”标识的绿色健康码 。 请注意在健康码有效期内中转乘机 , 并在登机前配合航空公司查验 。
推荐阅读
- 界面新闻除了看得见的,奔驰EQC背后还隐藏着这些“看不见”的豪华
- 中年北斗系统发言人答封面新闻:北斗定位精度最好可达1点几米
- 上游新闻|精度达到2-3米,北斗系统发言人:中国北斗攻克160余项关键技术
- 央视新闻客户端|昌平线南延新进展!“巨无霸”上清桥站明年底完工
- 央视新闻客户端|新加坡要求部分入境者佩戴电子追踪器
- 看看新闻|高考女孩填志愿 30多位“爸爸”争相出主意
- 央视新闻客户端|教育部、国家邮政局联合发布:坚决杜绝录取通知书丢失损毁
- 经济参考报|中国版证券集体诉讼制度落地实施 中小投资者将拥有便利低成本维权渠道
- 央视新闻客户端|北斗系统工程新技术应用超过70%
- 简单观察|梨树县推动经济社会发展座谈会召开
