跌停|啥情况?新能源汽车大牛股差点跌停,市值蒸发超200亿!只是过快上涨后回调?已有机构“抄底”
_本文原题为 啥情况?新能源汽车大牛股差点跌停 , 市值蒸发超200亿!只是过快上涨后回调?已有机构“抄底”
股价连续拉升数日的比亚迪(002594)21日大跌 , 一度逼近跌停 , 收盘报105.77元/股 , 跌8.42% 。
据Wind统计 , 年初至今 , 比亚迪已累积上涨122% 。 分析人士称 , 21日大跌可能是过快上涨后的回调 。 盘后数据显示 , 机构与外资逢低加仓 , 北向资金净买入5101万元 , 一机构席位买入5594万元 。

文章图片
实际上 , 近日不只是比亚迪涨势喜人 。 整个乘用车板块都表现出色 , 板块修复强势 , 月内板块涨幅达20% 。 分析称 , 随着国内经济大环境稳中向好、“金九银十”和北京车展带来的购车热度、全国各地推出的消费刺激性政策 , 汽车行业将持续回暖 。
比亚迪市值蒸发逾200亿元
9月21日 , 比亚迪早盘高开 , 一度创历史新高价119.32元 , 但是随后拾级而下 , 盘中一度跌9.66% , 逼近跌停 。 比亚迪收盘报105.77元/股 , 跌8.42% , 成交额65.35亿元 , 该股振幅达12.97% 。 根据Wind统计 , 比亚迪总市值下跌了逾200亿元 。
在港股上 , 比亚迪股份(1211.HK)走势类似 , 该股于早段曾继续逆市上扬 , 盘中高见117港元并再创历史新高 , 随后下跌 。 截至收盘 , 报102.2港元/股 , 跌7.51% 。

文章图片
年初至今 , 比亚迪已累积上涨122% 。 在9月21日之前 , 比亚迪连涨五个交易日 , 最高累积上涨幅度约33% 。 分析人士称 , 21日大跌可能是过快上涨后的回调 。
在消息面上 , 比亚迪确实利好不断 。 近日 , 比亚迪表示 , 已决定今年年底前 , 在生产刀片电池的弗迪重庆工厂内新建8条生产线 , 实现20GWh以上的年产能目标 。 此外 , 搭载刀片电池的比亚迪汉在7月上市后 , 订单迅速突破3万辆 , 超出此前公司月均3000辆的预期 , 供不应求 。
花旗在日前报告也指出 , 受惠于刀片电池 , 估计2021年比亚迪在新能源电池市场可取得包括美国、中国及欧洲市场份额约4.5% , 料至2025年可提升至7% 。
中信证券研报指出 , 比亚迪公司新能源汽车8月销售1.5万辆 , 同比下降8.6% , 环比增长1.2% 。 8月份 , 刀片电池产能爬坡顺利 , 新车型“汉”交付量超预期 。 今年旗舰车型“汉”的推出 , 有望驱动品牌升级 。 此外 , 公司中性化战略逐步推进 , 供应链潜在价值巨大 , 随着公司半导体、动力电池等重点业务分拆加速落地 , 料将推动价值重估 , 维持公司"买入"评级 , 继续重点推荐 。
值得注意的是 , 本次的回调从资金数据上 , 上周就显示出迹象 。 从9月15日至17日的盘后龙虎榜数据来看 , 买入前五席位均为游资 , 卖出前五中则有两席为机构 , 合计卖出2.99亿元 。
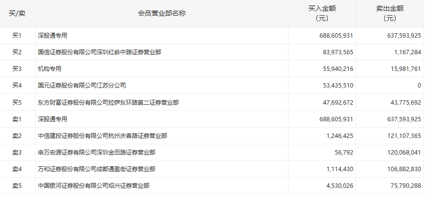
但是 , 在21日大跌时 , 盘后数据又现机构买入身影 , 机构与外资逢低加仓 。 9月21日 , 龙虎榜数据显示 , 北向资金买入6.89亿元并卖出6.38亿元 , 净买入5101万元;一机构席位买入5594万元 。 中信建投杭州庆春路、申万宏源深圳金田路、万和证券成都通盈街等三个营业部卖出金额超1亿元 。

文章图片
“金九银十”到来 汽车行业持续回暖
实际上 , 近日不只是比亚迪涨势喜人 。 整个乘用车板块近期表现出色 , 板块修复强势 , 月内板块涨幅达20% 。
日前 , 乘联会做出了最新销量预测 , 预计9月中国车市将实现零售销量191.5万辆 , 同比上涨8% 。 该机构做出利好预测的依据有3点:国内经济大环境稳中向好、“金九银十”和北京车展带来的购车热度、全国各地推出的消费刺激性政策 。
推荐阅读
- 这一场|这一场相亲不仅损失了女子个人的品行,还损失了钱财……
- 萌哥马力|轩逸仍是领头羊,宏光新能源成最大黑马,9月份轿车销量排行
- 哈比布|原创小鹰已是俄罗斯国宝拳王,但妻子情况完全保密,连一张照片都没有
- AutoR智驾|EV和理想ONE的热卖,看清市场对新能源汽车的需求,从五菱宏光MINI
- 新华网|国新办举行前三季度国民经济运行情况新闻发布会
- 新华网|国新办举行能源行业决战决胜脱贫攻坚有关情况发布会
- 第一财经|量子科技概念股强势来袭,多家上市公司回应相关业务情况
- 中国经济网|?剑桥科技跌停 红塔红土资管与财通基金现身前十股东
- 输入|不同场合要怎样做好防疫?这篇推文话你知(附10月18日广州市新冠肺炎疫情情况)
- 安徽|光伏大白马惨遭跌停!赚钱周期结束了?
