
文章图片

文章图片

在石头市场 , 也就是翡翠石市场 , 普遍存在这样一种现象 , 即赌石 , 流行在滇缅边境一带 , 带有赌博性质 。 翡翠在开采出来时 , 有一层风化皮包裹着 , 无法知道其内的好坏 , 须切割后才能知道翡翠的质量 。 对于购买者来说 , 就像赌博一样 , 赌对了 , 开出来的石头内部拥有优质的翡翠 , 那就是赚大了 , 相反 , 如果开出来只是普通石头 , 那就是血亏了 。
而近日 , 在司法拍卖市场上 , 也出现了类似于赌石的拍卖 。 拍卖的资产也是一块石头 , 起拍价4500元 。 此次拍卖是太康县人民法院执行的司法拍卖 , 拍卖的石头也是一块原石 , 重量约11.7公斤 , 石头外观为金黄色的 , 像黄金一样 , 石头是比较方正的一块石头 , 然后用手电筒照射石头 , 会发出绿色的光 。 拍卖的石头如下图所示 。 从图片来看 , 似乎是一块非常优质的翡翠原石 。 这块石头被拍卖 , 是因为被执行人与银行存在借款纠纷 , 然后一个珠宝公司用这块石头作抵押担保的 , 现在欠钱不还 , 石头就被拍卖了 。
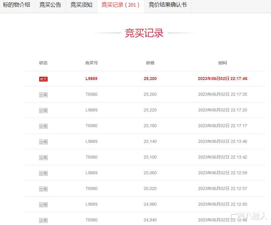
这块石头的拍卖 , 还是非常的抢手 , 有9个人报名竞拍 , 竞争是相当激烈 , 9个人为了得到这块石头 , 那是疯狂加价了201次 , 最终以2.53万元的高价成交 , 成交价比起拍价高出了约2万元 , 溢价率高达462% 。
2.53万元 , 买这样一块十来斤的石头 , 确实是具有赌的风险了 , 如果买下这块石头 , 打开一看 , 石头内部普普通通 , 跟普通石头没有多大区别 , 那就相当于2.53万元打水漂了 。 而如果是优质的翡翠石 , 11.4斤的翡翠石 , 那也是价值连城 , 那2.53万元的成本投入 , 就是血赚了 。
【翡翠|赌石成功,一块11.4斤的石头4500元拍卖,被抬价201次2.53万成交】大家觉得 , 这块石头 , 能值多少呢?
推荐阅读
- 翡翠|易盏堂:极具特色与众不同的美感—灰皮釉盏
- 翡翠|白冰貔貅,必备的好物!
- 奇石|如何通过灯光判断翡翠的种
- |一块不起眼的翡翠怪桩料,玉雕大师如何精雕细琢的?
- 运动|身体出现这7个信号,代表脂肪正在减少,说明你离减肥成功不远了
- 艺术品|翡翠原石中,会切出石头吗?
- 翡翠|感悟 入门黄蜡石
- 翡翠|图文详解:翡翠“种老”?到底有几层含义?
- 雕刻|学习翡翠雕刻,需要多长时间?
- 翡翠|什么人卖翡翠,最容易被坑?
