利率|无惧牛熊,碾压余额宝、京东、银行,OKEx余币宝成理财新选择( 二 )
从官方网站可知 , 目前余币宝近40种数字货币的年化收益率不尽相同 。
文章图片
文章图片
文章图片
文章图片
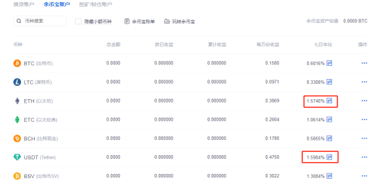
ETH、USDT的收益率分别达到1.5740%、1.5984% , 仅从币本位来看 , 均已超过余额宝收益 , 再加上币价的波动 , 尤其是ETH , 收益率会更高;ADA、ZIL、COMP、KNC、DOGE则分别达到5.5159%、3.5304%、5.8696%、4.4145%、3.6146% , 均大幅超越余额宝和京东小金库等传统理财产品 , 更具吸引力 。
许多人不解 , OKEx的余币宝为何能有如此高的收益?
首先 , OKEx余币宝的收益来自OKEx部分的杠杆借币利息收入 。 OKEx会抽取每日可分配利息的15%作为平台收入 , 目前此项平台收入将全部注入杠杆交易风险准备金 , 用于杠杆交易的穿仓分摊 , 平台保留日后以其他方式处理此平台收入的权利 。 剩余85%的每日可分配利息将根据用户币量占比进行利息发放 。
简单来讲 , 用户存入余币宝的币的收益与平台杠杆借币利息收入息息相关 。 其实不管是牛市还是熊市 , 使用杠杆借币的用户不会受太大影响 , 反正多空都可以赚钱 。 再加上OKEx覆盖154个国家和地区 , 拥有百万之众的用户体量 , 杠杆借币利息收入有强力支撑 。
其次 , 余币宝的资产可以灵活参与杠杆借币交易 , 借币日利率最低只有0.01% , 比蚂蚁花呗还有便宜5倍之多 , 而余币宝的利息又都来源OKEx的币币杠杆借币利息 , 两者形成了一个完整闭环 。
总而言之 , OKEx的余币宝是一款存取灵活 , 收益有支撑 , 无论牛熊均可获益的数字货币理财产品 。 在余额宝、京东小金库、银行活期存款等收益率不断下降 , 全球经济大环境阴晴不定 , 数字货币市场日益扩大的情况下 , OKEx的余币宝成为收益更稳定、更丰厚的投资选择 。
推荐阅读
- 利率|最后一个月!这次重要的二选一,将决定你以后房贷要还多少钱
- 德业股份|德业股份营收由美的力挺 毛利率提升的空间有多大
- 张建|大悦城将发行20亿元公司债券 票面利率3.78%
- 毛利率|国科恒泰财务杠杆高企,毛利率不及同行
- 周转|本川智能境外销售遇阻,毛利率三年连降
- 股份|德业股份营收由美的力挺 毛利率提升的空间有多大
- 利率|人民币兑美元中间价调贬132个基点
- 娱乐青丝|昔日的性感女神,如今50岁无惧岁月,妖娆身段风韵犹存
- 中国经济网|东来股份产能利用率低营收滞涨 毛利率员工数均降2年
- 股份|东来股份产能利用率低营收滞涨 毛利率员工数均降2年
