肆客足球App|最新疫情:新增102例本土病例,新疆96例
【肆客足球App|最新疫情:新增102例本土病例,新疆96例】
文章图片
7月30日消息 , 昨天(7月29日0—24时)31个省(自治区、直辖市)和新疆生产建设兵团报告新增确诊病例105例 , 其中境外输入病例3例(广东1例 , 云南1例 , 陕西1例) , 本土病例102例(新疆96例 , 辽宁5例 , 北京1例) 。
新疆维吾尔自治区(含新疆生产建设兵团)报告新增新冠肺炎确诊病例96例(其中8例为无症状感染者转确诊病例) , 新增无症状感染者18例 , 均在乌鲁木齐市 。
辽宁新增5例本土病例 , 均为大连市报告病例 , 其中4例为无症状感染者转归确诊病例 , 均属普通型病例 。 新增本土无症状感染者2例 , 均为大连市报告 。
北京新增1例大连关联病例 , 为7月27日确诊的大连市疫情关联病例的密切接触者 。
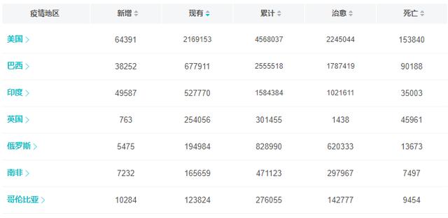
全球累计确诊病例超过1708万例 , 累计死亡超过66万例 。
美国单日新增6万余例 , 巴西单日新增3.8万例 , 印度单日新增近5万例 。
推荐阅读
- App|盗播产业链调查:一款App看遍各大平台,超前点播也可绕过
- 硬件|正面刚Apple Watch和Fitbit 亚马逊推出智能手环Halo
- 圆满|自贡市2020“天府信用通杯”足球赛圆满收官
- 南都|从3岁上数学思维课,学的是什么?南都测评6款App
- 选手|跨专业融合跨到翻车的程度?说唱新世代有个rapper是道士
- Apple|媒体出版行业需要积极适应iOS 14的隐私指导
- 足球|葡萄牙卢利坦奴足球俱乐部33人确诊新冠肺炎
- Apple|研究称在约会App资料中显示拥有iPhone被 "匹配 "的几率增加76%
- Apple|FB批评苹果的应用商店政策被迫在iOS上推出移除游戏功能的Gaming应用
- 葡萄牙卢利坦奴足球俱乐部33人确诊新冠肺炎
