张巍|涉嫌隐瞒实控人,国盛金控被证监会立案调查!这次怎么罚?新证券法顶格可罚1000万
文章图片
国盛证券的实控人问题有了最新进展 。
8月14日晚国盛金控公告 , 控股股东收到中国证监会调查通知书 , 涉嫌信息披露违法违规 。
文章图片
根据2019年年报披露 , 国盛金控实际控制人为杜力及张巍 , 两名“80后”当年叱咤风云斥资逾60亿的“类借壳上市”运作 , 令市场刮目相看 , 认为“神秘”且“并不简单” 。
此次暴露的信息披露问题正逢新《证券法》实施已近半年 , 但目前尚未有更多细节透露实控人发生实质性变更的时间是在新《证券法》实施前还是实施后 , 此次涉嫌问题该适用新法还是旧法在调查结果出来前尚无定论 。 对此受访律师有不同看法 , 有的认为即使变更发生在新法实施前 , 但隐瞒行为持续至今 , 可以适用新法 。 券商中国采访人员查询新法 , 发现信息披露义务人隐瞒实控人的后果最高可罚1000万元 。
因子公司国盛证券隐瞒实际控制人 , 证监会7月已对该券商实行接管 , 目前公司经营正常 , 7月业绩环比上涨逾9成 。
控股股东被立案调查
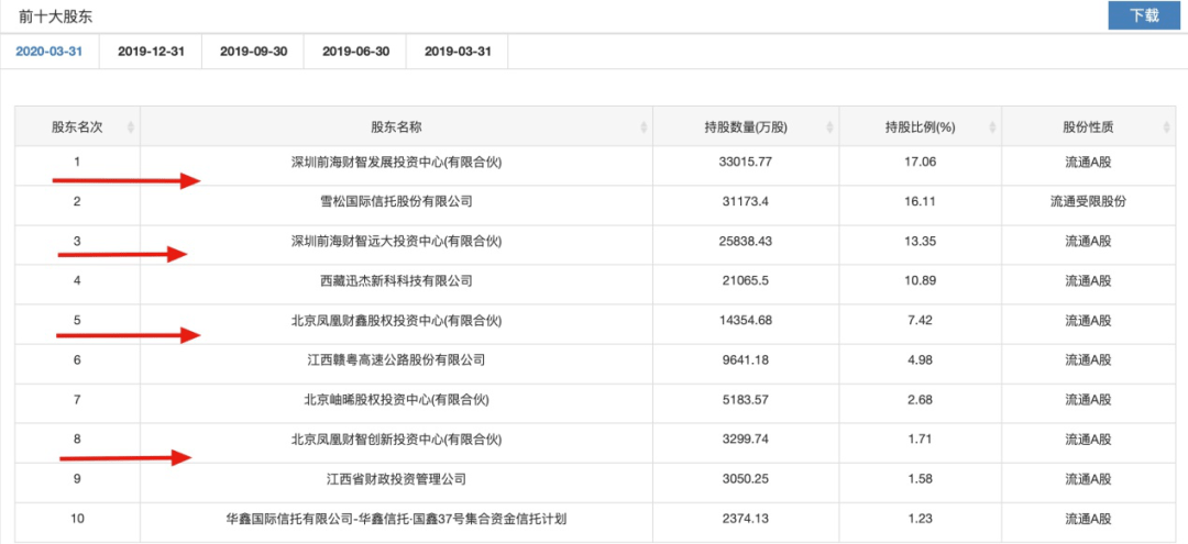
8月14日晚 , 国盛金控披露 , 因涉嫌信息披露违法违规 , 根据《证券法》的有关规定 , 中国证监会决定对公司控股股东张家港财智投资中心(有限合伙)、深圳前海财智远大投资中心(有限合伙)、北京凤凰财鑫股权投资中心(有限合伙)以及北京凤凰财智创新投资中心(有限合伙)立案调查 。 公司控股股东于14日分别收到相关《调查通知书》 。
根据今年一季度末数据 , 前述4名股东合计持有国盛金控39.54%的股权 。
天眼查显示 , “张家港财智投资中心(有限合伙)”此前名为“深圳前海财智发展投资中心(有限合伙)” , 今年5月29日名称变更 , 但持股比例不变 。
文章图片
年报显示 , 国盛金控实际控制人为杜力及张巍 。 实际控制人是通过信托或其他资产管理方式控制公司 。 杜力任国盛金控的董事长;张巍为副董事长 。
文章图片
“80后”当年逾60亿的资本运作
【张巍|涉嫌隐瞒实控人,国盛金控被证监会立案调查!这次怎么罚?新证券法顶格可罚1000万】杜力与张巍何时“入主”上市公司?
根据过往公告可看到 , 国盛金控前身为华声股份 。 2015年5月 , 华声股份发布公告称 , 公司股东香港华声、远茂化工与凤凰财智签署股份转让协议 , 合计转让5966万股 , 交易价格为每股20.08元 , 这意味着凤凰财智斥资近12亿接盘 , 成为华声股份的控股股东 , 持股29.83% , 杜力与张巍从此成为华声股份的实际控制人 。 这波操作在当时被市场人士解读为“蛇吞象”式收购 。
半年后 , 即2015年11月 , 资产注入开始 , 券商“曲线上市” 。 华声股份宣布通过发行股份及支付现金方式购买国盛证券100%股权 , 并向前海发展、前海远大、凤凰财鑫、北京迅杰、北京岫晞发行股份募集配套资金 。 杜力与张巍通过前海发展、前海远大、凤凰财鑫进一步扩大对上市公司的持股比例 , 彼时从29.83%上升到43.95% , 此次认购配套募资耗资高达近51亿 。
这就意味着从拿下华声股份到装入国盛证券 , 在整整一年时间(2015年5月-2016年5月) , 杜力与张巍的这轮资本运作 , 斥巨资逾60亿元 。 1980年生人的杜力与张巍在当时被业内认为“不简单” , 被称为“神秘的资本大佬” 。
据《新京报》援引的受访人士 , 称印象中的杜力聪明好学 , 有冲劲 , 对金融很敏锐 , 还称“天天就只用坐坐私人飞机 , 陪香港大老板们打打牌 , 游艇会一堆美女 。 ”
推荐阅读
- 环球网|黎智英长子涉嫌串谋欺诈,已往警署报到
- 海报新闻客户端|罚2.4亿!证监会对乐视涉嫌欺诈发行案调查完毕
- 三言财经|处罚2.4亿元,证监会:对乐视涉嫌欺诈发行案调查完毕
- 调查|乐视退:公司涉嫌信披违法、欺诈发行案调查完毕,证监会拟罚款逾2.4亿元
- 2019年|快看 | 乐视遭证监会罚款2.4亿元,因涉嫌信息披露违法
- 违法|乐视退:公司涉嫌信披违法、欺诈发行案调查完毕,证监会拟罚款逾2.4亿元
- 南国都市报|海南一名机关工作人员涉嫌醉驾被警方抓获!被抓时称“自己人,求照顾”
- 股票|快看 | 乐视遭证监会罚款2.4亿元,因涉嫌信息披露违法
- 中新经纬|罚2.4亿!证监会对乐视涉嫌欺诈发行案调查完毕
- 募集资金|乐视退:公司涉嫌欺诈发行案 证监会决定对公司处以2.4亿罚款
