鸡西|黑龙江事业单位出新花样,本科以上就能报名!目前已有7市招聘
_原题为 黑龙江事业单位出新花样 , 本科以上就能报名!目前已有7市招聘
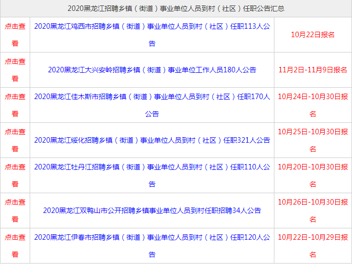
哈喽 , 各位小伙伴 , 大家好 , 今天小编要和大家说的是黑龙江省很多地市陆陆续续都在出的一个公告 。 2020黑龙江招聘乡镇(街道)事业单位人员到村(社区)任职公告 。 目前已经出的地市是:鸡西、大兴安岭、佳木斯、绥化、牡丹江、双鸭山和伊春 。
报考时间可以看下图
文章图片
但是 , 各个地市的考试内容不尽相同 , 大家可以到各个地市的官网查看具体公告 。 截止目前为止 , 黑龙江省共招录1048人 。 如果是本科生又想考取事业单位的话 , 这是一个非常好的机会 。 对于参加不了2021年国家公务员 , 不符合招录条件的 , 可以尝试一下这个考试 。
【鸡西|黑龙江事业单位出新花样,本科以上就能报名!目前已有7市招聘】
文章图片
今天的公告就分享到这里 , 希望大家都前程似锦!公告点击了解更多查看
推荐阅读
- 西安|西安组织医疗卫生事业单位赴三所名校揽人才活动圆满结束
- 黑龙江省|黑龙江省加快推进职业教育改革
- 消息资讯|机构改革:42种事业单位将取消编制,明年起不再是“公家人”
- 直播|黑龙江省直播电商三年行动计划出台
- 直播|培训10万名直播销售和运营人员!黑龙江要干这件大事……
- 消息资讯|2020安庆某事业单位招聘啦!速看!
- 运算|厦门事业单位行测数量关系技巧:数学运算作答策略
- 黑龙江省|黑龙江省两校入选2020年国家知识产权示范/试点高校
- 来源|看龙江|黑龙江省规模以上装备工业增加值同比增长9.8%
- 招聘|含编内!福州多家事业单位招人啦!
